
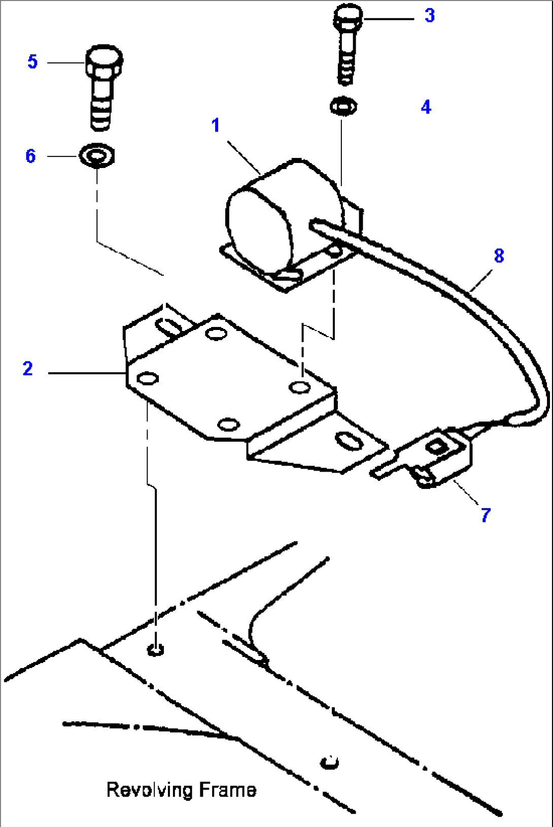
| Item | Part No. | Part Name | Qty | Serial No. |
| 1 | 207-06-A1240 | ALARM, TRAVEL | A85001-A85012- | |
| 2 | 207-06-A1250 | BRACKET | A85001-A85012- | |
| 3 | 01010-80816 | BOLT | A85001-A85012- | |
| 4 | 01643-30823 | WASHER | A85001-A85012- | |
| 5 | 01010-51225 | BOLT | A85001-A85012- | |
| 6 | 01643-31232 | WASHER | A85001-A85012- | |
| 7 | 08055-00282 | CONNECTOR | A85001-A85012- | |
| 08053-015121 | CLIP | A85001-A85012- | ||
| 8 | 08025-06037 | TUBE | A85001-A85012- |
