
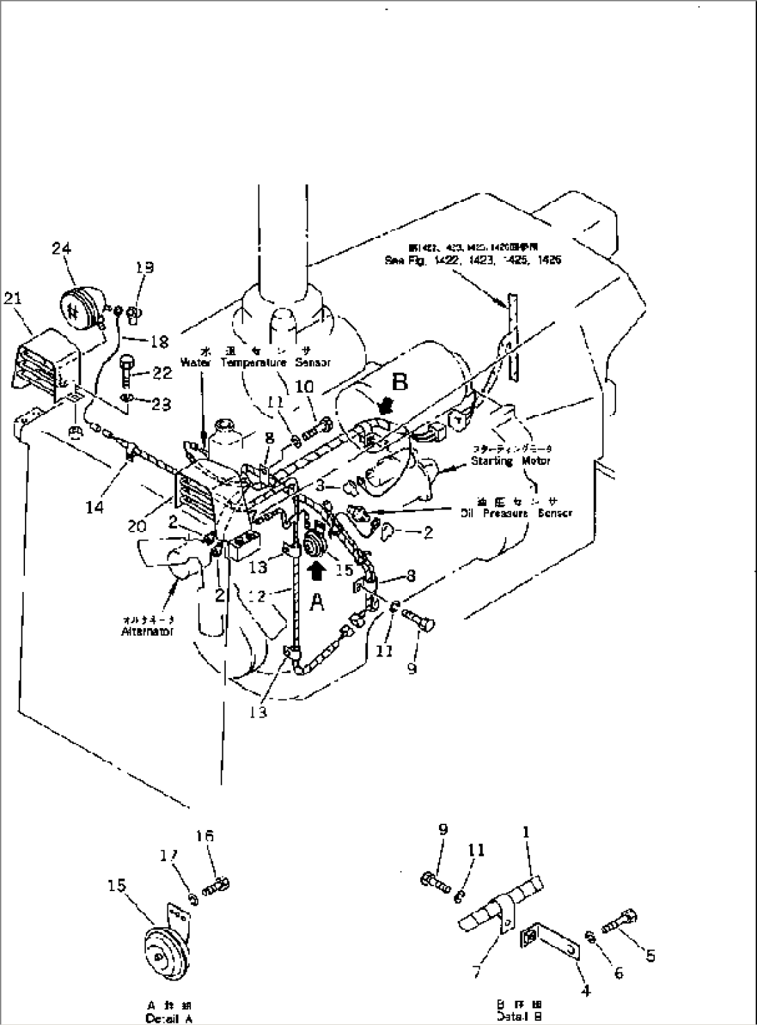
| Item | Part No. | Part Name | Qty | Serial No. | 
| 1 | 144-06-52340 | WIRE | 50001- | |
| 2 | 08038-02027 | CAP | 50001- | |
| 3 | 08038-00519 | CAP | 50001- | |
| 4 | 144-06-52170 | BRACKET | 50001- | |
| 5 | 01010-51050 | BOLT | 50001- | |
| 6 | 01602-21030 | WASHER,SPRING | 50001- | |
| 7 | 08035-01510 | CLIP | 50001- | |
| 8 | 198-61-14180 | CLIP | 50001- | |
| 9 | 01010-51016 | BOLT | 50001- | |
| 10 | 01010-51020 | BOLT | 50001- | |
| 11 | 01602-21030 | WASHER,SPRING | 50001- | |
| 12 | 144-06-52350 | WIRE | 50001- | |
| 13 | 113-04-22180 | CLIP | 50001- | |
| 14 | 08036-11210 | CLIP | 50001- | |
| 15 | 08160-52400 | HORN | 50001- | |
| 16 | 01010-50816 | BOLT | 50001- | |
| 17 | 01602-20825 | WASHER,SPRING | 50001- | |
| 18 | 144-06-14620 | WIRE | 50001- | |
| 19 | 08038-00519 | CAP | 50001- | |
| 20 | 120-06-33291 | BRACKET,L.H. | 50001- | |
| 21 | 120-06-33281 | BRACKET,R.H. | 50001- | |
| 22 | 01010-51225 | BOLT | 50001- | |
| 23 | 01602-21236 | WASHER,SPRING | 50001- | |
| 24 | 08128-22400 | LAMP ASS'Y | 50001- | |
| 08113-02480 | BULB¤ 80W | 50001- | ||
| 08128-00003 | HOLDER | 50001- | 
