
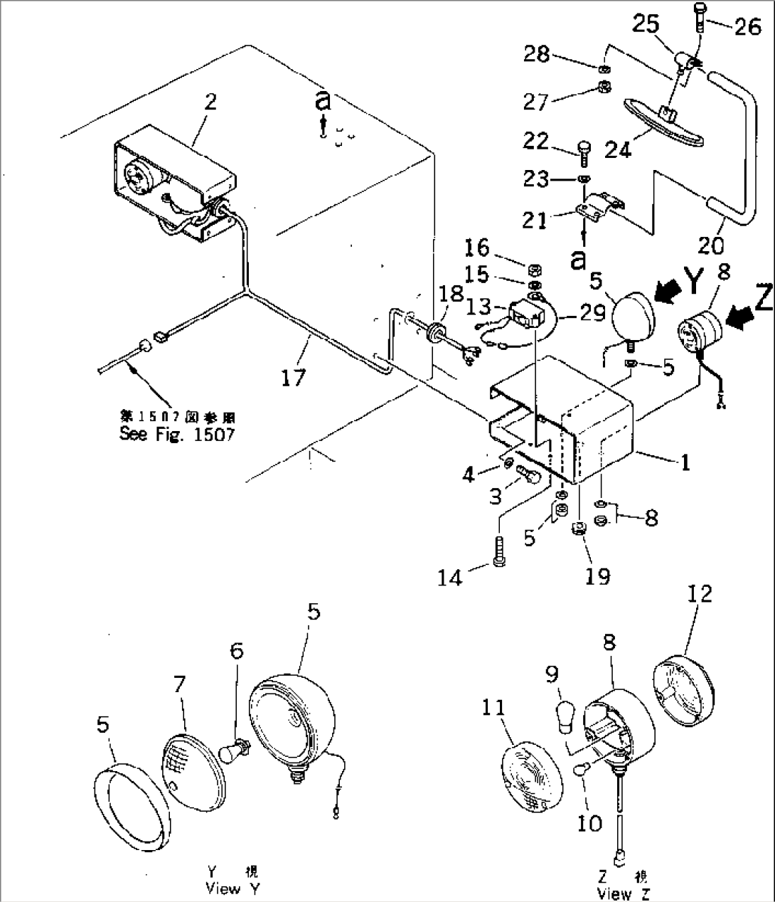
| Item | Part No. | Part Name | Qty | Serial No. |
| 1 | 273-06-13162 | BRACKET,L.H. | 10011- | |
| 2 | 273-06-13171 | BRACKET,R.H. | 10011- | |
| 3 | 01010-50820 | BOLT | 10011- | |
| 4 | 01643-30823 | WASHER | 10011- | |
| 5 | 232-06-51980 | LAMP ASS'Y,WORK | 10011- | |
| 6 | 08100-02460 | BULB¤ 60/60W | 10011- | |
| 7 | 232-06-51990 | LENS | 10011- | |
| 8 | 273-06-12610 | LAMP ASS'Y,COMBINATION | 10011- | |
| 9 | 08105-02420 | BULB¤ 25W | 10011- | |
| 10 | 08136-02405 | BULB¤ 5W | 10011- | |
| 11 | 08136-00006 | LENS,FRONT | 10011- | |
| 12 | 08136-00003 | LENS,REAR | 10011- | |
| 13 | 08164-10000 | ALARM,BACK | 10011- | |
| 14 | 01011-51000 | BOLT | 10011- | |
| 15 | 01643-31032 | WASHER | 10011- | |
| 16 | 01580-11008 | NUT | 10011- | |
| 17 | 273-06-11140 | HARNESS | 10011- | |
| 18 | 08037-03614 | GROMMET | 10011- | |
| 19 | 08037-01610 | GROMMET | 10011- | |
| 20 | 232-06-53290 | STAY | 10011- | |
| 21 | 232-06-15131 | BRACKET | 10011- | |
| 22 | 01010-51040 | BOLT | 10011- | |
| 23 | 01643-31032 | WASHER | 10011- | |
| 24 | 08174-10001 | MIRROR | 10011- | |
| 25 | 232-06-15151 | PIVOT | 10011- | |
| 26 | 01010-50820 | BOLT | 10011- | |
| 27 | 01580-10806 | NUT | 10011- | |
| 28 | 01643-30823 | WASHER | 10011- | |
| 29 | 273-06-11340 | CABLE | 10011- |
