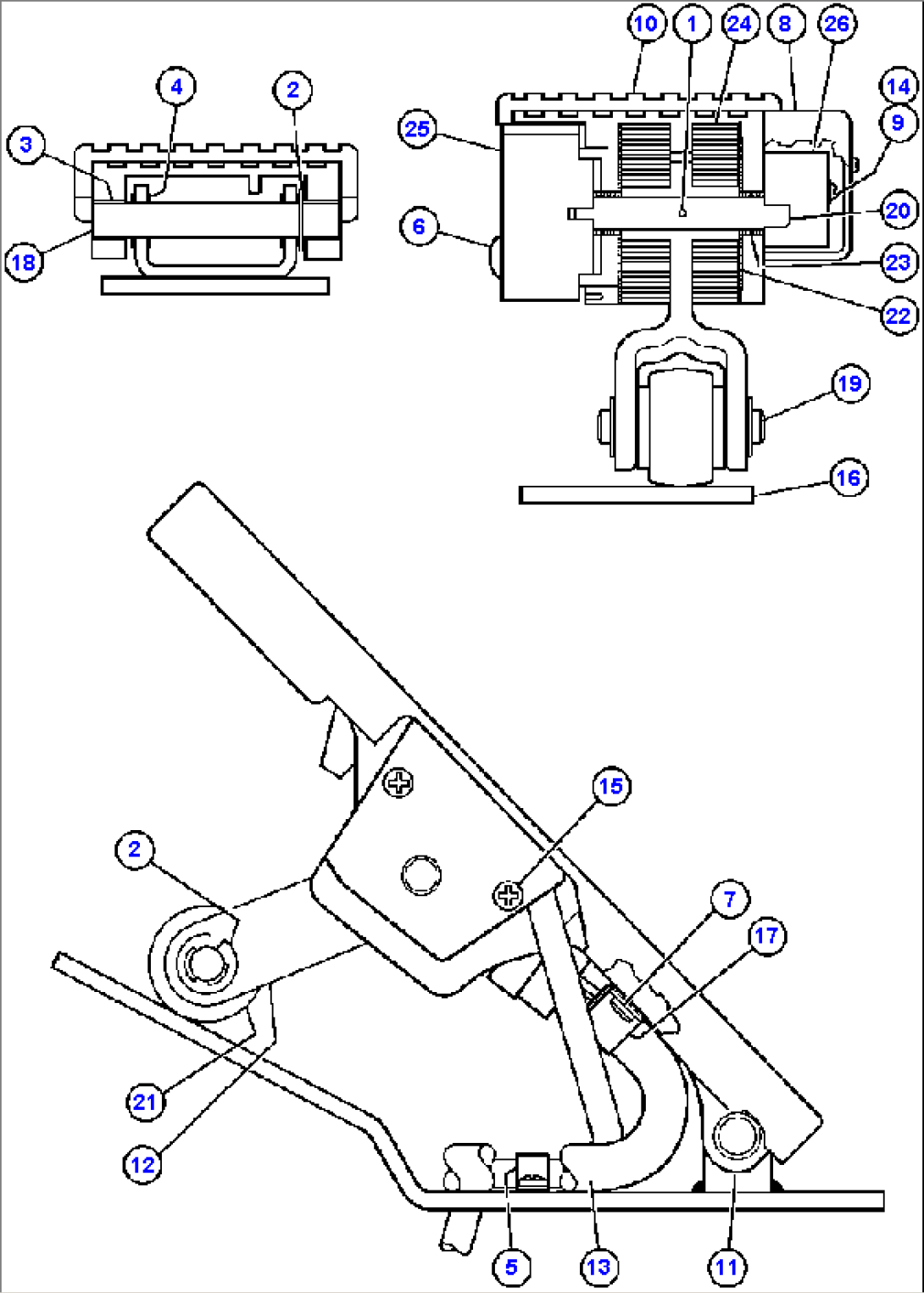
| Item | Part No. | Part Name | Qty | Serial No. |
| 1 | VE7551 | PIN | | |
| 2 | VJ4023 | RING, RETAINING (1)/(2) | | |
| 3 | VE3504 | BUSHING (2) | | |
| 4 | VE3510 | BUSHING (2) | | |
| 5 | VE4218 | CLAMP, WIRE | | |
| 6 | VE3522 | SCREW (3) | | |
| 7 | VE4213 | SCREW, PAN HEAD (3) | | |
| 8 | BF1346 | COVER, POTENTIOMETER | | |
| 9 | | WASHER, BRASS (4) | | |
| 10 | BF1354 | COVER, DUAL SENSOR | | |
| 11 | | TREADLE (4) | | |
| 12 | | LEVER (4) | | |
| 13 | BF1349 | HARNESS, SENSOR (3) | | |
| 14 | BF1344 | SCREW - #8 - 32NC X 3/4" | | |
| 15 | BF1343 | SCREW - #8 - 32NC X 1" | | |
| 16 | BF1355 | BASE PLATE - 45 DEG | | |
| 17 | VE7634 | CLAMP (3) | | |
| 18 | VE3516 | PIN, TREADLE (2)/(4) | | |
| 19 | VE7638 | PIN, ROLLER (1) | | |
| 20 | | SHAFT, DUAL (4) | | |
| 21 | VE3517 | ROLLER (1) | | |
| 22 | VE7556 | WASHER, THRUST OUTER | | |
| 23 | VE7557 | BUSHING | | |
| 24 | | SPRING, LOW (4) | | |
| 25 | | SENSOR (3)/(4) | | |
| 26 | BF1348 | POTENTIOMETER | | |
| NS|27 | VE7561 | NOTE: (1) INCLUDED IN VE7561 ROLLER KIT. | | |
| NS|28 | VE7549 | (2) INCLUDED IN VE7549 UNIVERSAL REPAIR KIT. | | |
| NS|29 | BF1342 | (3) INCLUDED IN BF1342 SENSOR KIT. | | |
| NS|30 | | (4) NOT SOLD OR SERVICED SEPARATELY. | | |