
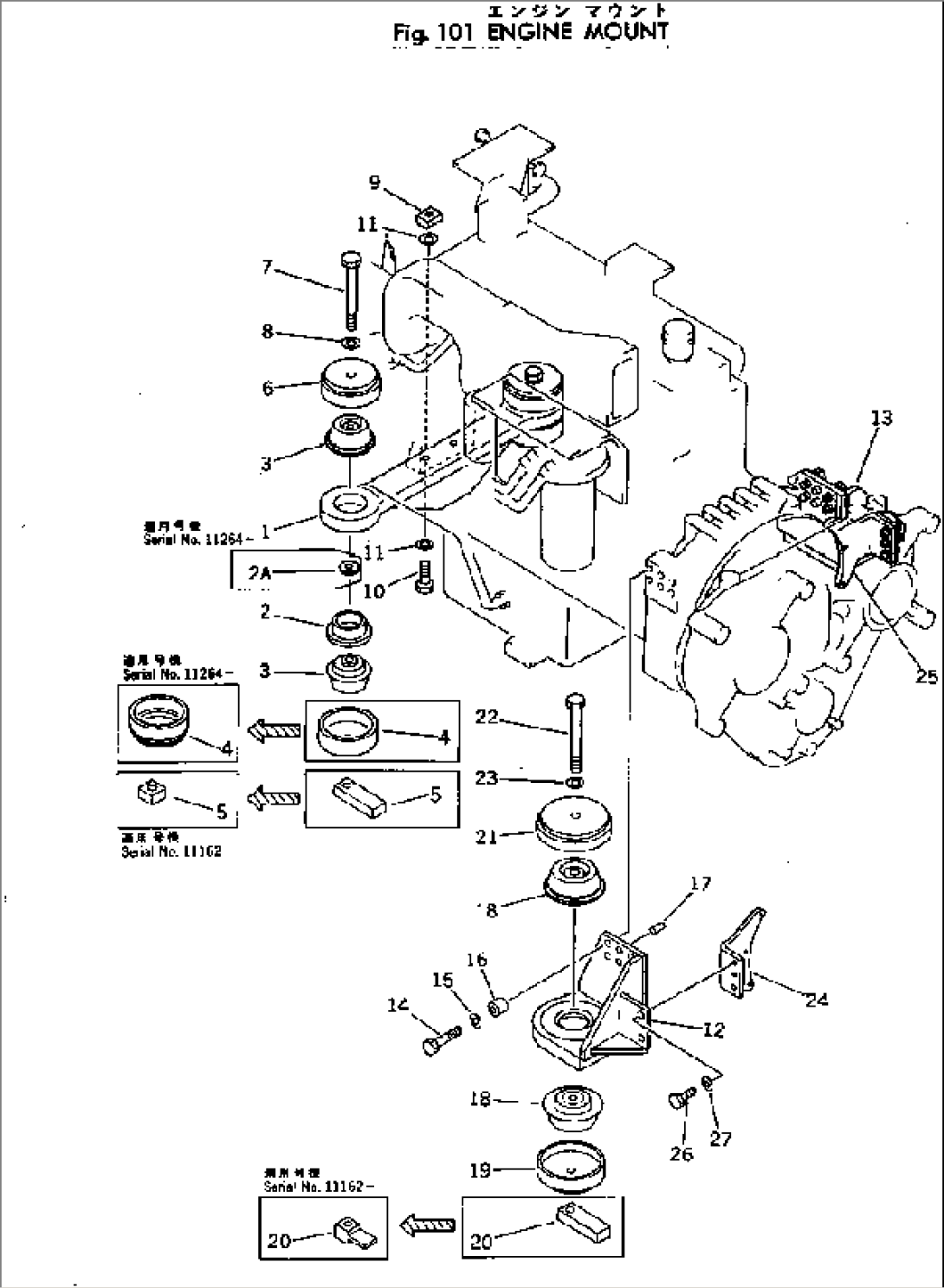
| Item | Part No. | Part Name | Qty | Serial No. |
| 1 | 208-01-11233 | BRACKET | 11264- | |
| 208-01-11232 | BRACKET | 11001-11263 | ||
| 2 | 21T-01-11210 | COLLAR | 11264- | |
| 208-01-11221 | COLLAR | 11001-11263 | ||
| 2A | 21T-01-11220 | COLLAR | 11264- | |
| 3 | 207-01-11142 | CUSHION | 11264- | |
| 207-01-11141 | CUSHION | 11001-11263 | ||
| 4 | 207-01-11380 | STOPPER | 11264- | |
| 208-01-11141 | STOPPER | 11001-11263 | ||
| 5 | 207-01-14121 | PLATE | 11162- | |
| \0\207-01-14120 | PLATE | 11001-11161 | ||
| 6 | 207-01-11370 | STOPPER | 11264- | |
| 208-01-11131 | STOPPER | 11001-11263 | ||
| 7 | 208-01-11181 | BOLT | 11001- | |
| 8 | 01643-32460 | WASHER | 11001- | |
| 9 | 208-01-11240 | PLATE | 11001- | |
| 10 | 01010-51885 | BOLT | 11001- | |
| 11 | 01643-31845 | WASHER | 11001- | |
| 12 | 207-01-11115 | BRACKET,L.H. | 11001- | |
| 13 | 207-01-11125 | BRACKET,R.H. | 11001- | |
| 14 | 01010-51685 | BOLT | 11001- | |
| 15 | 01643-31645 | WASHER | 11001- | |
| 16 | 195-54-11570 | SPACER | 11001- | |
| 17 | 04020-01842 | PIN | 11001- | |
| 18 | 21T-01-11150 | CUSHION | 11001- | |
| 19 | 207-01-11341 | STOPPER | 11001- | |
| 20 | 207-01-14121 | PLATE | 11344- | |
| \0\207-01-14130 | PLATE | 11262-11343 | ||
| \0\207-01-14120 | PLATE | 11001-11261 | ||
| 21 | 207-01-11370 | STOPPER | 11344- | |
| \0\207-01-11351 | STOPPER | 11001-11343 | ||
| 22 | 208-01-11181 | BOLT | 11001- | |
| 23 | 01643-32460 | WASHER | 11001- | |
| 24 | 207-01-12530 | PLATE | 11001- |
