
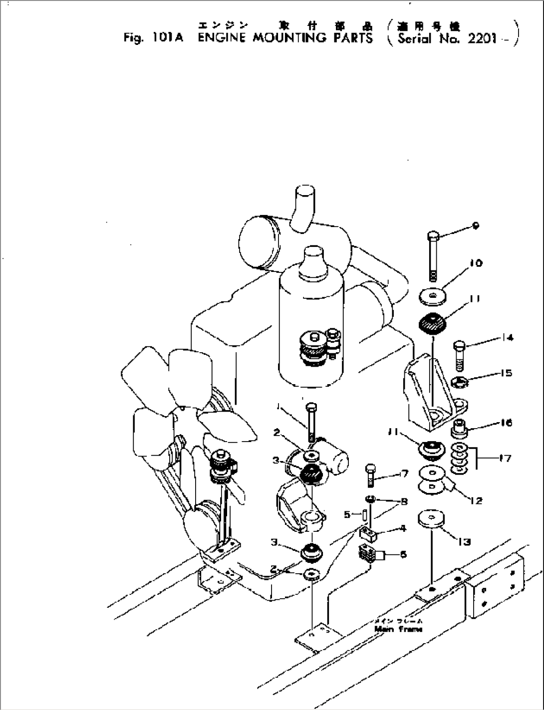
| Item | Part No. | Part Name | Qty | Serial No. |
| 1 | 01011-31620 | BOLT | 2201- | |
| 2 | 113-01-21120 | WASHER | 2201- | |
| 3 | 113-01-21110 | CUSHION | 2201- | |
| 4 | 125-01-21340 | STOPPER | 2201- | |
| 5 | 04020-01228 | PIN,DOWEL | 2201- | |
| 6 | 125-01-05050 | SHIM ASS'Y | 2201- | |
| 6 | 125-01-21350 | SHIM, 1.0MM | 2201- | |
| 6 | 125-01-21360 | SHIM, 0.5MM | 2201- | |
| 7 | 01010-31050 | BOLT | 2201- | |
| 8 | 01602-01030 | WASHER,SPRING | 2201- | |
| 9 | 01019-11850 | BOLT | .- | |
| 9 | 01011-31845 | BOLT | 2201-. | |
| 10 | 135-01-31170 | WASHER | 2201- | |
| 11 | 135-01-31260 | CUSHION | 2201- | |
| 12 | 124-01-05020 | SHIM ASS'Y | 2201- | |
| 12 | 125-01-21230 | SHIM, 1.2MM | 2201- | |
| 12 | 125-01-21240 | SHIM, 0.5MM | 2201- | |
| 13 | 124-01-21390 | PLATE | 2201- | |
| 14 | 01019-02015 | BOLT | 2201- | |
| 15 | 124-01-21330 | SPACER | 2201- | |
| 16 | 124-01-21380 | SPACER | 2201- | |
| 17 | 135-01-05110 | SHIM ASS'Y | .- | |
| 17 | 124-01-05010 | SHIM KIT | 2201-. | |
| 17 | 135-01-31240 | SHIM, 1.0MM | .- | |
| 17 | 124-01-21340 | SHIM, 1.0MM | 2201-. | |
| 17 | 135-01-31250 | SHIM, 0.2MM | .- | |
| 17 | 124-01-21350 | SHIM, 0.2MM | 2201-. |
