
| Item | Part No. | Part Name | Qty | Serial No. |
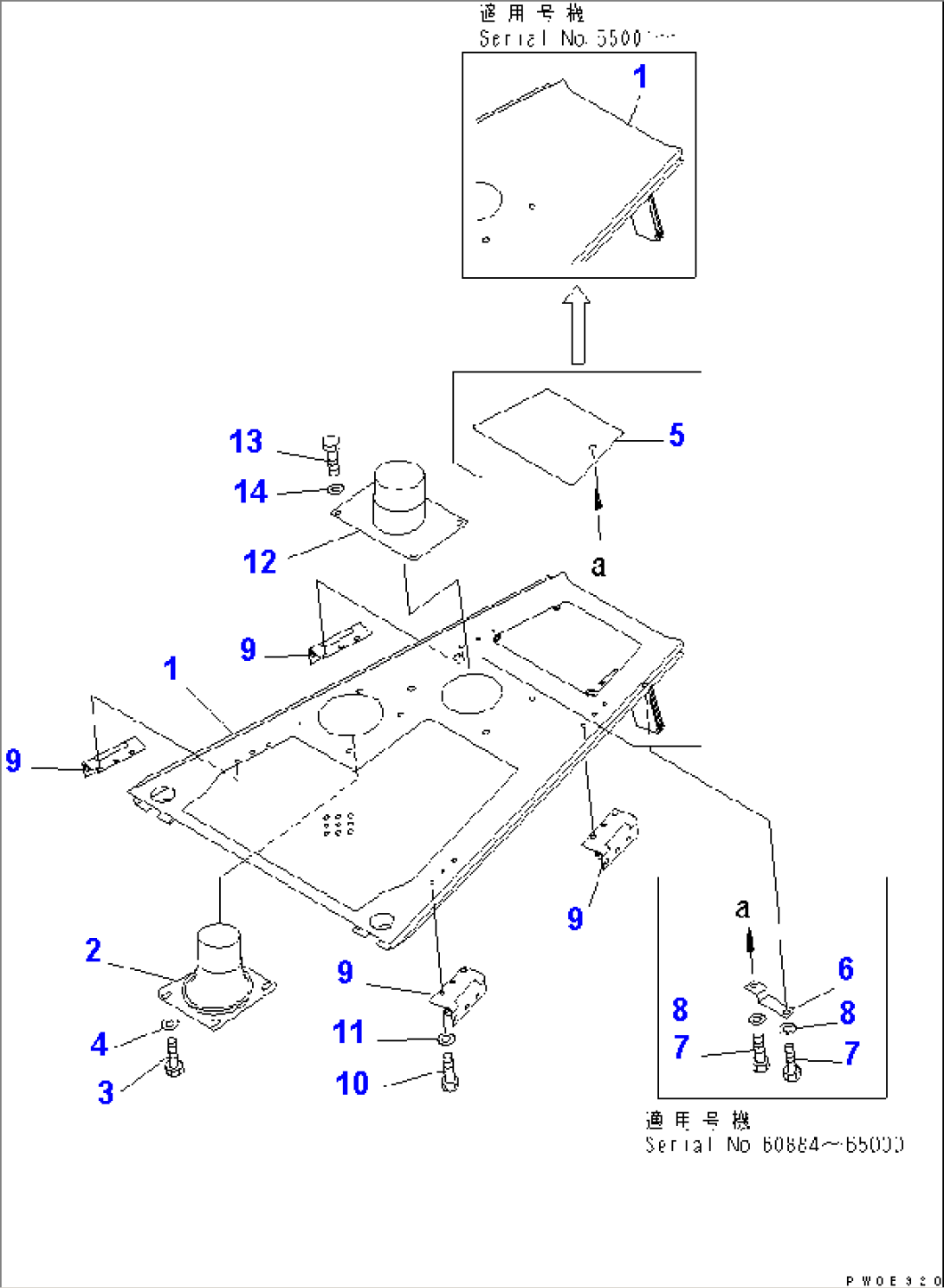
| 1 | 14X-54-22250 | HOOD | 65001- | |
| 14X-54-12292 | HOOD | 61290-65000 | ||
| 14X-54-12291 | HOOD | 60884-61289 | ||
| 2 | 14X-54-12810 | PIPE | 60884- | |
| 3 | 01010-81220 | BOLT | 60884- | |
| 4 | 130-43-64260 | COLLAR | 60884- | |
| 5 | 14X-54-12270 | PLATE | 60884-65000 | |
| 6 | 14X-54-12280 | PLATE | 60884-65000 | |
| 7 | 01010-81220 | BOLT | 60884-65000 | |
| 8 | 01643-31232 | WASHER | 60884-65000 | |
| 9 | 14X-911-1330 | HINGE | 60884- | |
| 10 | 01010-81025 | BOLT | 60884- | |
| 11 | 01643-31032 | WASHER | 60884- | |
| 12 | 14X-54-22821 | PIPE | 65579- | |
| 14X-54-22820 | PIPE | 65001-65578 | ||
| 14X-54-12820 | PIPE | 60884-65000 | ||
| 13 | 01010-81220 | BOLT | 60884- | |
| 14 | 01643-31232 | WASHER | 60884- |
