
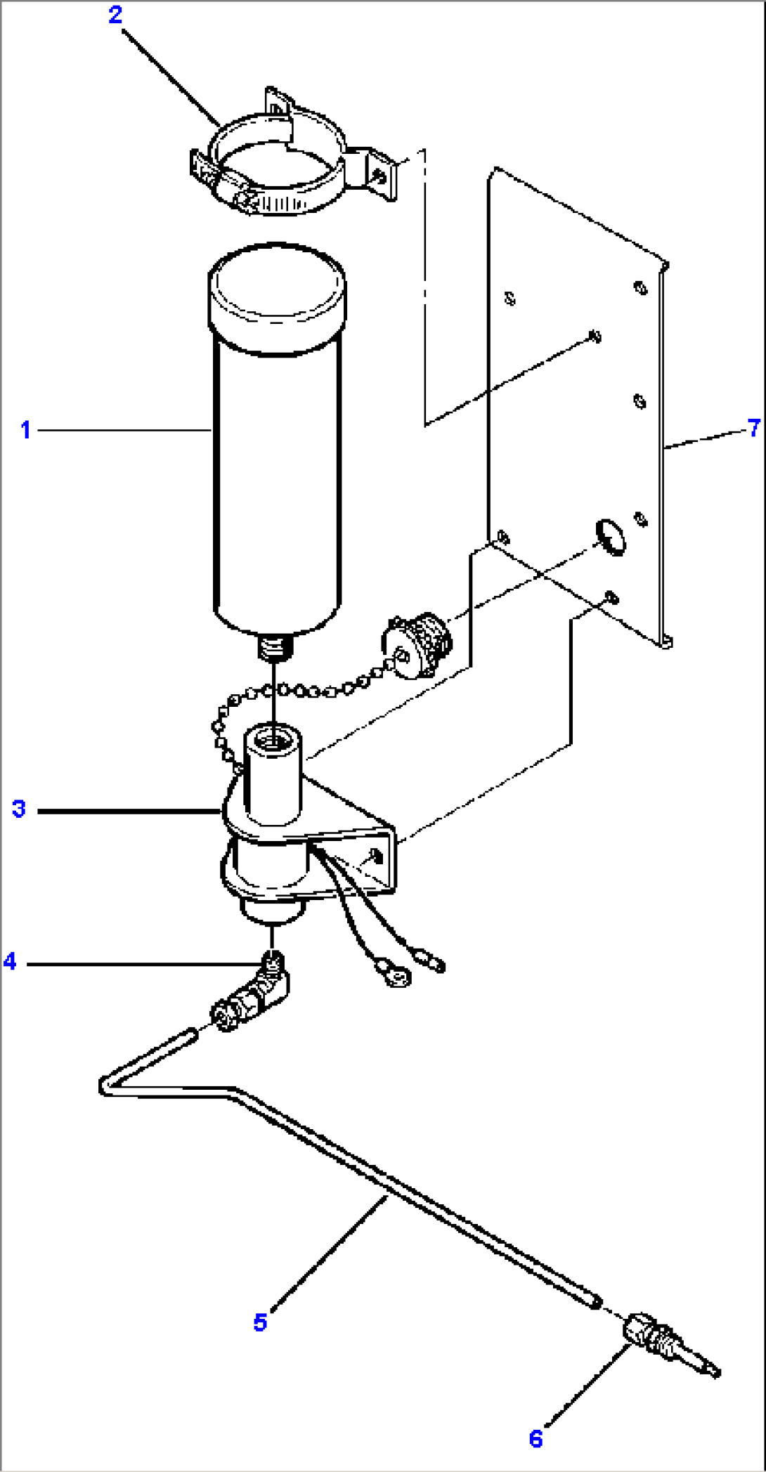
| Item | Part No. | Part Name | Qty | Serial No. |
| 1 | 634 238 C1 | CYLINDER, ETHER START | ||
| 2 | 1258 780 H91 | CLAMP, CYLINDER MOUNTING | ||
| 01435-00820 | BOLT, CLAMP MOUNTING | |||
| 01643-50823 | WASHER | |||
| 01580-10806 | NUT | |||
| 3 | 423-01-A1150 | VALVE, ETHER INJECTOR | ||
| 01435-00820 | BOLT, VALVE MOUNTING | |||
| 01643-50823 | WASHER | |||
| 01580-10806 | NUT | |||
| 4 | 140 304 | ELBOW, 90° | ||
| 5 | 425-06-A2140 | TUBE, INJECTOR VALVE TO ATOMIZER NOZZLE | ||
| 08034-00414 | STRAP, TIE | |||
| 6 | 1233 696 H1 | NOZZLE, ETHER INJECTOR ATOMIZER | ||
| 7 | 425-06-A2120 | PLATE, CYLINDER MOUNTING | ||
| 01435-00814 | BOLT, PLATE MOUNTING | |||
| F1 - PURCHASE LOCALLY. | ||||
