
Item | Part No. | Part Name | Qty | Serial No. |
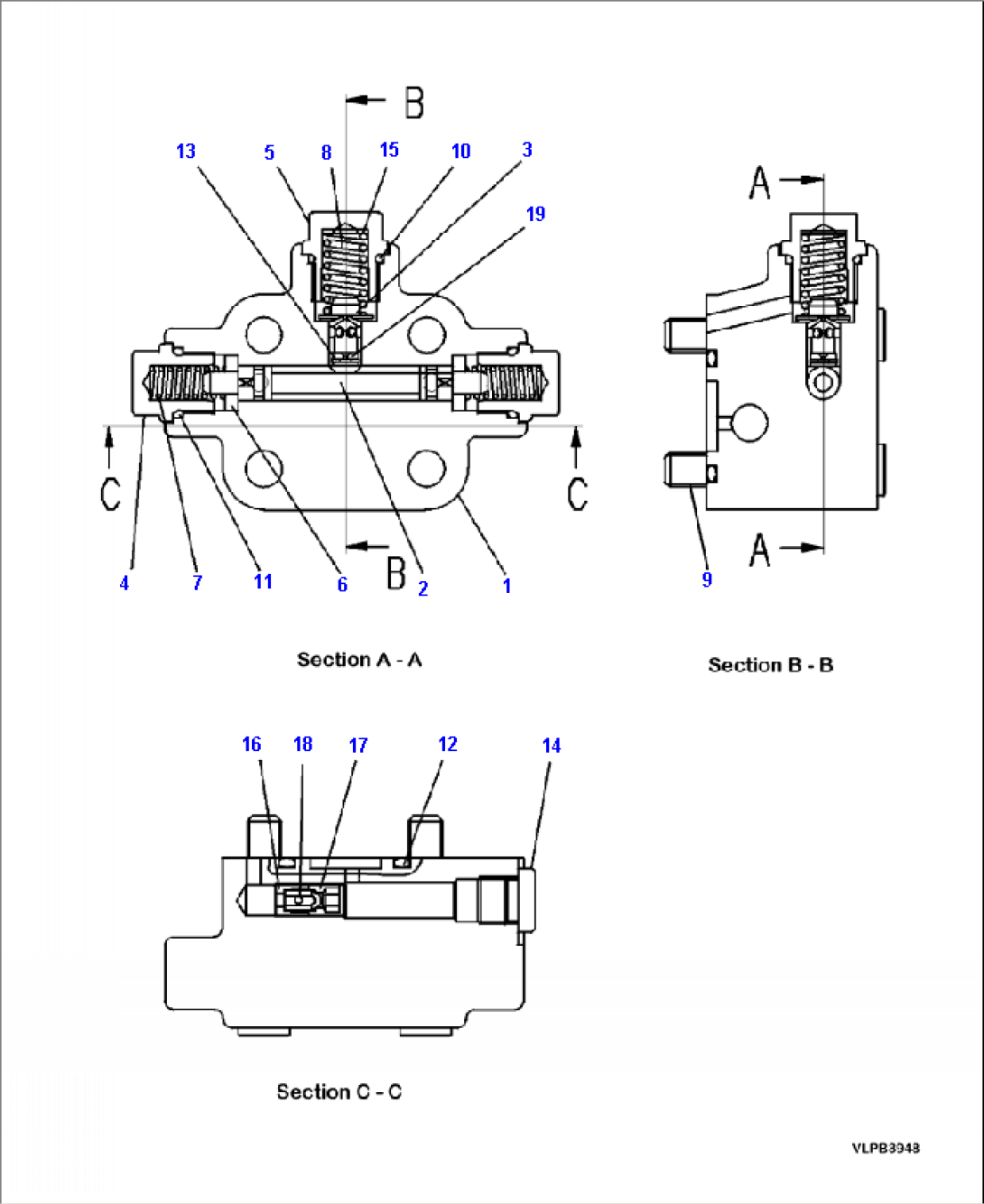
UCR902115809 | FLASHING VALVE ASSEMBLY | A35001-- | ||
UCR902115773 | FLASHING VALVE | A35001-- | ||
1 | UCR902115700 | BODY | A35001-- | |
2 | UC1720001575 | SPOOL | A35001-- | |
3 | UC1704302344 | PLUNGER | A35001-- | |
4 | UCR902115717 | PLUG | A35001-- | |
5 | UCR902115716 | PLUG | A35001-- | |
6 | UC1704171122 | SPRING SEAT | A35001-- | |
7 | UC1720119218 | SPRING | A35001-- | |
8 | UC1704178489 | SPRING | A35001-- | |
9 | UC1301616009 | BOLT | A35001-- | |
10 | UC1098308629 | O-RING | A35001-- | |
11 | UC1098308601 | O-RING | A35001-- | |
12 | UC1300384005 | O-RING | A35001-- | |
13 | UC1701530124 | WASHER | A35001-- | |
14 | UC1701539305 | PLUG | A35001-- | |
15 | UC1701570791 | SHIM | A35001-- | |
N/I | UC1701579651 | SHIM | A35001-- | |
N/I | UC1701579669 | SHIM | A35001-- | |
16 | UC1704002631 | GUIDE | A35001-- | |
17 | UC1704002649 | GUIDE | A35001-- | |
18 | UC1704258687 | ORIFICE | A35001-- | |
19 | UC1704196974 | ORIFICE | A35001-- |