
| Item | Part No. | Part Name | Qty | Serial No. |
| 1 | 6732-81-4610 | HARNESS, WIRING | ||
| 2 | 6732-11-4812 | GASKET, CONNECTION | ||
| 3 | 6743-82-4110 | HEATER, ENGINE | ||
| N/I | 6732-81-4620 | PRODUCT GRAPHIC, INSTRUCTION - NO ETHER |

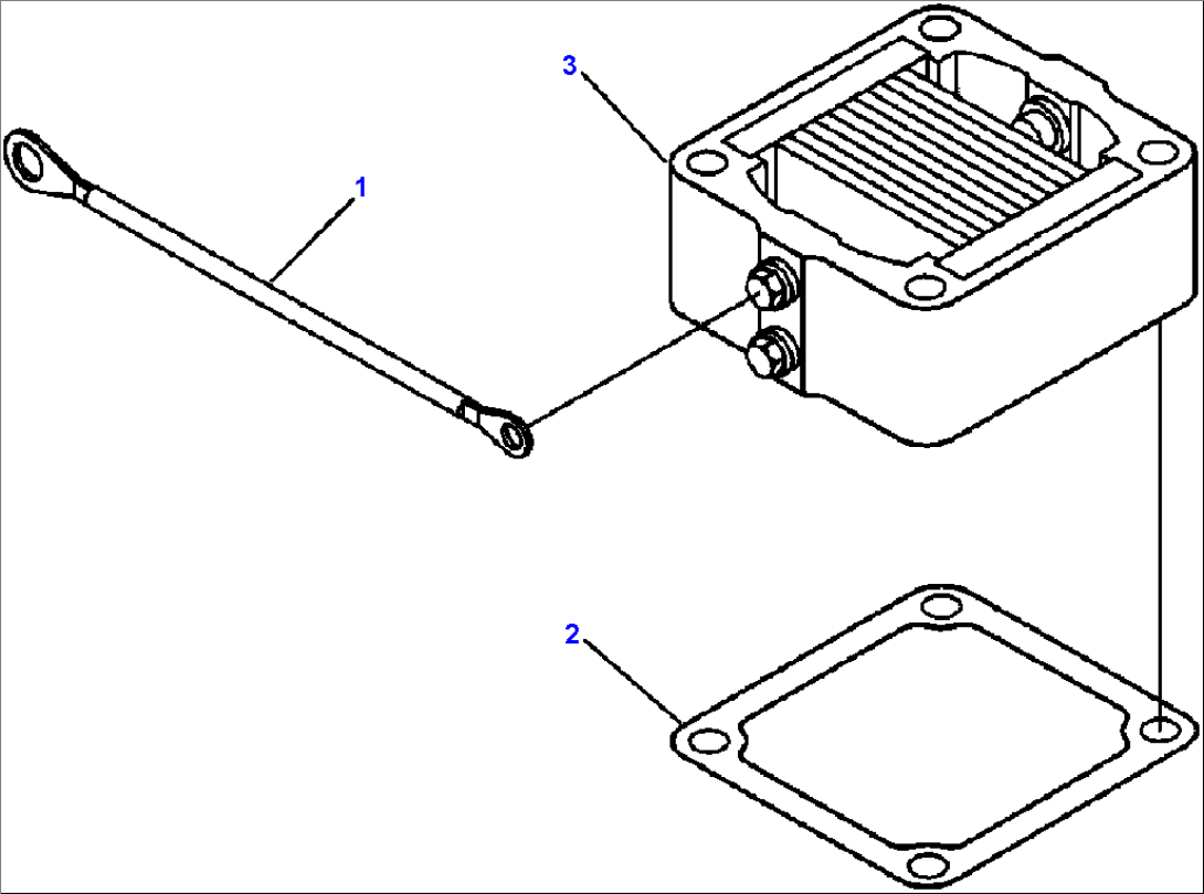
| Item | Part No. | Part Name | Qty | Serial No. |
| 1 | 6732-81-4610 | HARNESS, WIRING | ||
| 2 | 6732-11-4812 | GASKET, CONNECTION | ||
| 3 | 6743-82-4110 | HEATER, ENGINE | ||
| N/I | 6732-81-4620 | PRODUCT GRAPHIC, INSTRUCTION - NO ETHER |