
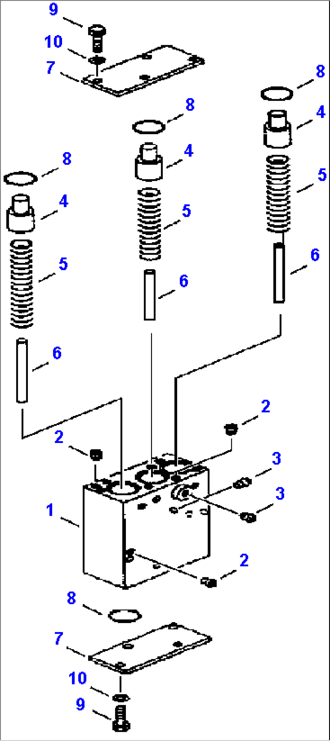
| Item | Part No. | Part Name | Qty | Serial No. |
| 714-07-15600 | VALVE ASSEMBLY, ACCUMULATOR | A30001-UP- | ||
| (NSS) | BODY ASSEMBLY | A30001-UP- | ||
| 1 | (NSS) | BODY | A30001-UP- | |
| 2 | 07043-70211 | PLUG | A30001-UP- | |
| 3 | 07042-00211 | PLUG | A30001-UP- | |
| 4 | 714-07-15610 | VALVE | A30001-UP- | |
| 5 | 714-07-16470 | SPRING | A30001-UP- | |
| 6 | 714-11-15370 | STOPPER | A30001-UP- | |
| 7 | 714-07-15850 | COVER | A30001-UP- | |
| 8 | 07000-13035 | O-RING | A30001-UP- | |
| 9 | 01010-E1025 | BOLT | A30001-UP- | |
| 10 | 01643-31032 | WASHER | A30001-UP- |
