
| Item | Part No. | Part Name | Qty | Serial No. |
| 1304 301 H91 | CAB ASSEMBLY, COMPLETE(SEE FIG. K0210-03A0) | P076093-- | ||
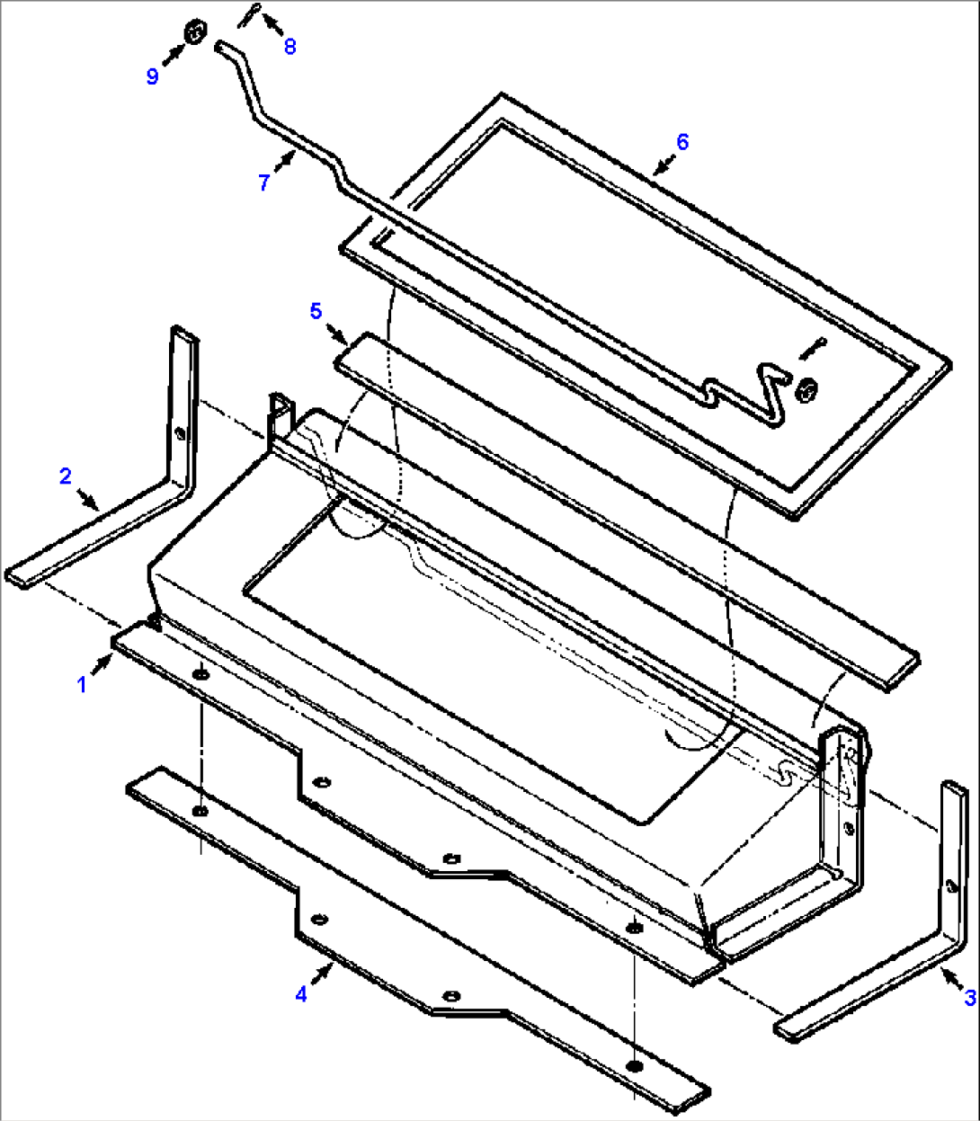
| 1304 382 H91 | BOX ASSEMBLY, AIR FILTER | P076093-- | ||
| 1 | (NSS) | BOX, FILTER | P076093-- | |
| 2 | 1304 388 H1 | GASKET, RIGHT SIDE | P076093-- | |
| 3 | 1304 389 H1 | GASKET, LEFT SIDE | P076093-- | |
| 4 | 1304 390 H1 | GASKET, FRONT | P076093-- | |
| 5 | 1304 391 H1 | GASKET, TOP REAR | P076093-- | |
| 6 | 1300 561 H1 | GASKET, INSIDE | P076093-- | |
| 7 | 1300 523 H1 | COUPLING, FILTER | P076093-- | |
| 8 | 137 141 | PIN, COTTER | P076093-- | |
| 9 | 30 325 R1 | WASHER, FLAT - M6 | P076093-- |
