
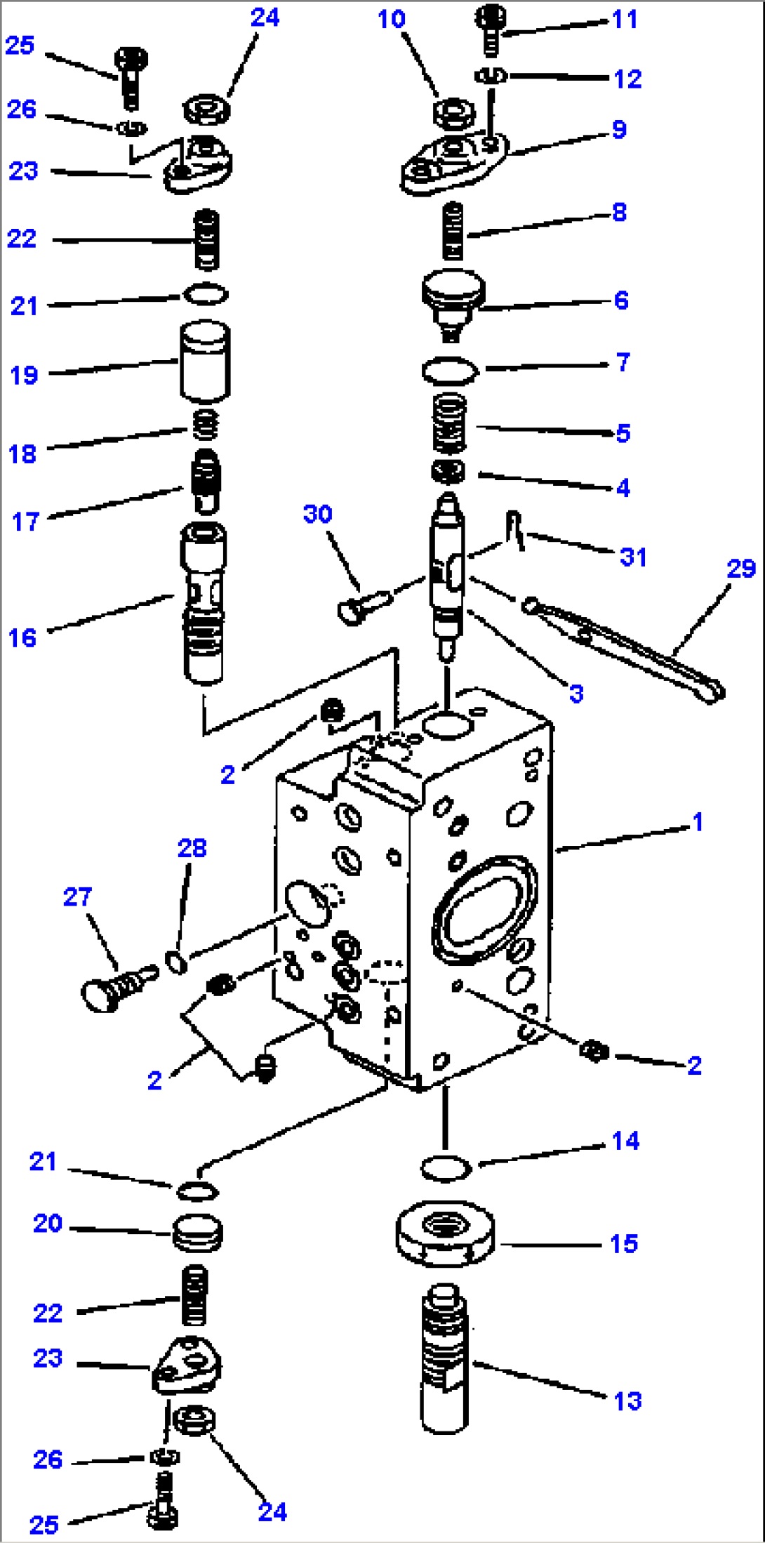
Item | Part No. | Part Name | Qty | Serial No. |
PUMP SUB ASS'Y (SEE PG 06-066) | ||||
VALVE ASS'Y, SERVO, FRONT (SEE PG 06-082) | ||||
708-25-65201 | VALVE SUB ASS'Y, SERVO | |||
708-23-07011 | BODY ASS'Y | |||
1 | (NSS) | BODY | ||
2 | (NSS) | EXPANDER | ||
3 | 708-25-15120 | PISTON | ||
4 | 708-25-15130 | SEAT | ||
5 | 708-25-15140 | SPRING | ||
6 | 708-25-15420 | PLUG | ||
7 | 07000-32018 | O-RING | ||
8 | 708-25-15340 | SCREW | ||
9 | 708-25-15150 | COVER | ||
10 | 01580-10806 | NUT | ||
11 | 708-25-15320 | BOLT | ||
12 | 01602-20619 | WASHER, SPRING | ||
13 | 708-25-65170 | PLUG | ||
14 | 07002-32034 | O-RING | ||
15 | 07239-12009 | NUT | ||
16 | 708-25-15180 | SLEEVE | ||
17 | 708-25-15280 | SPOOL | ||
18 | 708-25-15310 | SPRING | ||
19 | 708-25-15330 | SPACER | ||
20 | 708-25-15430 | PLUG | ||
21 | 07000-32012 | O-RING | ||
22 | 708-25-15340 | SCREW | ||
23 | 708-25-15250 | COVER | ||
24 | 01580-10806 | NUT | ||
25 | 708-25-15320 | BOLT | ||
26 | 01602-20619 | WASHER, SPRING | ||
27 | 708-25-15260 | PLUG | ||
28 | 07002-30823 | O-RING | ||
29 | 708-25-15270 | ARM | ||
30 | 04205-00514 | PIN | ||
31 | 04050-01210 | PIN, COTTER |