
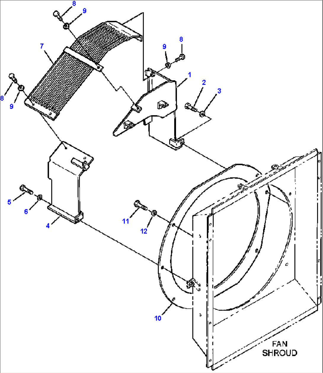
| Item | Part No. | Part Name | Qty | Serial No. |
| 1 | 20Y-03-21653 | COVER | ||
| 2 | 01010-81025 | BOLT | ||
| 3 | 01643-31032 | WASHER | ||
| 4 | 20Y-03-27160 | COVER | ||
| 5 | 01010-81025 | BOLT | ||
| 6 | 01643-31032 | WASHER | ||
| 7 | 20Y-03-21772 | GUARD | ||
| 8 | 01010-81025 | BOLT | ||
| 9 | 01643-31032 | WASHER | ||
| 10 | 20Y-03-21990 | PLATE | ||
| 11 | 01010-81020 | BOLT | ||
| 12 | 01643-31032 | WASHER |
