
Item | Part No. | Part Name | Qty | Serial No. |
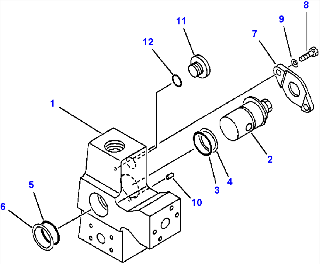
20Y-62-25201 | VALVE ASSEMBLY | |||
1 | 20Y-62-25161 | BLOCK | ||
2 | 20Y-970-3410 | ROTOR | ||
3 | 07000-13042 | O-RING | ||
4 | 07001-03042 | RING | ||
5 | 07000-13048 | O-RING | ||
6 | 07001-03048 | RING | ||
7 | 20Y-970-3350 | FLANGE | ||
8 | 01010-81025 | BOLT | ||
9 | 01643-31032 | WASHER | ||
10 | 04025-00412 | PIN, SPRING | ||
11 | 07040-12414 | PLUG | ||
12 | 07002-12434 | O-RING | ||
N/I | 20Y-970-4580 | PIN |