
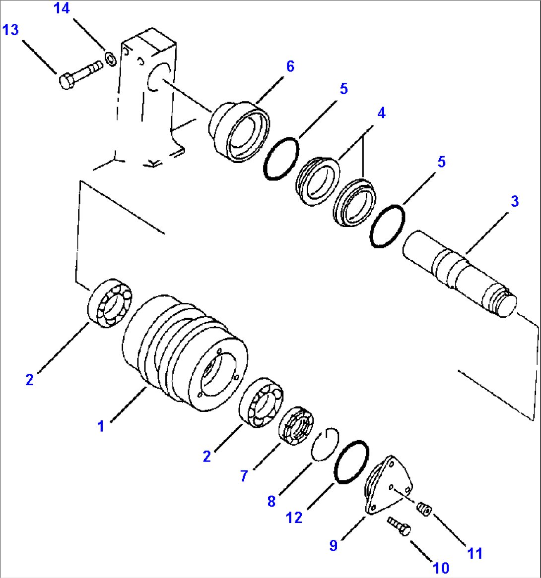
Item | Part No. | Part Name | Qty | Serial No. |
20Y-30-08030 | CARRIER ROLLER | A83001-- | ||
1 | 20Y-30-28350 | ROLLER | A83001-- | |
2 | 06002-32010 | BEARING | A83001-- | |
3 | 20Y-30-28360 | SHAFT | A83001-- | |
20Y-30-00070 | FLOATING SEAL | A83001-- | ||
4 | 20Y-30-00080 | SEAL RING | A83001-- | |
5 | 20Y-30-00090 | O-RING | A83001-- | |
6 | 20Y-30-28370 | RING | A83001-- | |
7 | 20Y-30-28390 | NUT | A83001-- | |
8 | 20Y-30-28400 | RING | A83001-- | |
9 | 20Y-30-28380 | COVER | A83001-- | |
10 | 20Y-30-28230 | BOLT | A83001-- | |
11 | 20Y-30-28340 | PLUG | A83001-- | |
12 | 20Y-30-28220 | O-RING | A83001-- | |
13 | 01010-61675 | BOLT | A83001-- | |
14 | 01643-31645 | WASHER | A83001-- |