
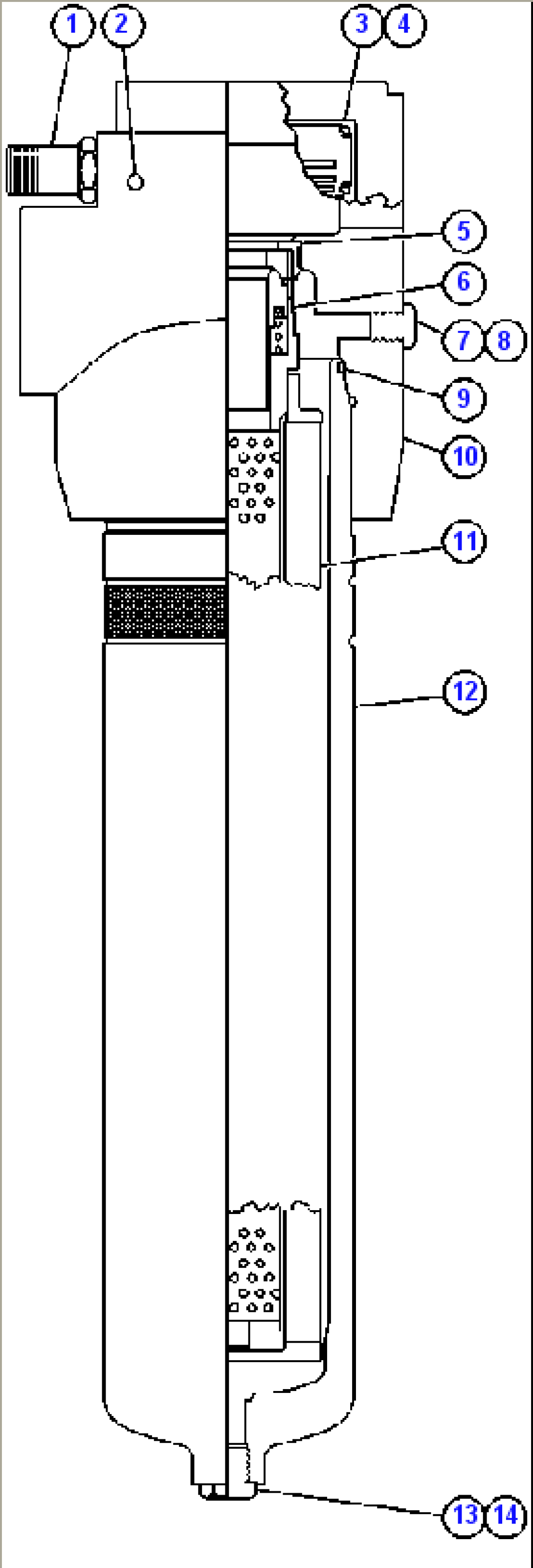
| Item | Part No. | Part Name | Qty | Serial No. |
| 1 | PB7797 | SWITCH, PRESSURE | ||
| 2 | BF2218 | SET SCREW | ||
| 3 | PLATE, FILTER (1) | |||
| 4 | DRIVE SCREW (1) | |||
| 5 | BF2214 | ADAPTOR | ||
| 6 | BF2215 | KIT, CORE | ||
| 7 | VM0313 | PLUG, BLEED | ||
| 8 | TF5194 | O-RING | ||
| 9 | WA0100 | O-RING | ||
| 10 | BF2716 | HEAD | ||
| 11 | AK3572 | ELEMENT, FILTER | ||
| 12 | BF2213 | BOWL | ||
| 13 | VE1978 | PLUG, DRAIN | ||
| 14 | TL3995 | O-RING | ||
| NS|15 | NOTE: (1) NOT SERVICED SEPARATELY. |
