
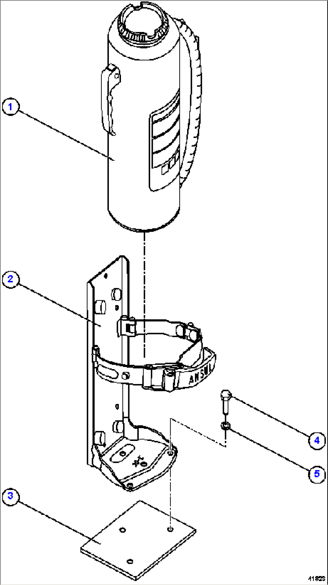
| Item | Part No. | Part Name | Qty | Serial No. |
| 1 | PB2849 | FIRE EXTINGUISHER | ||
| 2 | PB2850 | BRACKET, FENDER | ||
| 3 | VW6804 | PAD, TAPPED | ||
| 4 | H8524 | CAPSCREW - 3/8" - 16NC X 5/8" | ||
| 5 | C0312 | LOCKWASHER - 3/8" |

| Item | Part No. | Part Name | Qty | Serial No. |
| 1 | PB2849 | FIRE EXTINGUISHER | ||
| 2 | PB2850 | BRACKET, FENDER | ||
| 3 | VW6804 | PAD, TAPPED | ||
| 4 | H8524 | CAPSCREW - 3/8" - 16NC X 5/8" | ||
| 5 | C0312 | LOCKWASHER - 3/8" |