
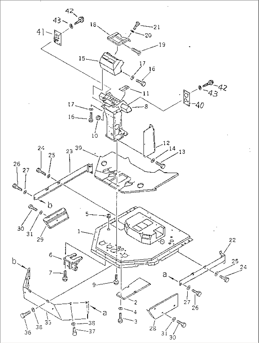
| Item | Part No. | Part Name | Qty | Serial No. |
| 1 | (428-54-14110) | FRAME ASS'Y | 10001- | |
| 2 | 421-54-18480 | COVER | 10001- | |
| 3 | 01010-50816 | BOLT | 10001- | |
| 4 | 01643-30823 | WASHER | 10001- | |
| 5 | 09415-03614 | CAP | 10001- | |
| 6 | 427-54-13710 | BRACKET | 10001- | |
| 7 | 01435-01230 | BOLT | 10001- | |
| 8 | 428-54-12650 | SUPPORT | 10001- | |
| 9 | 01435-01230 | BOLT | 10001- | |
| 10 | 09415-02512 | CAP | 10001- | |
| 11 | 421-54-12273 | INSULATOR | 10001- | |
| 12 | 421-54-12875 | COVER | 10001- | |
| 13 | 01010-50816 | BOLT | 10001- | |
| 14 | 01643-30823 | WASHER | 10001- | |
| 15 | 41E-54-12240 | COVER | 10001- | |
| 16 | 01010-50816 | BOLT | 10001- | |
| 17 | 01643-30823 | WASHER | 10001- | |
| 18 | 425-54-12871 | COVER | 10001- | |
| 19 | 01224-70620 | SCREW | 10001- | |
| 20 | 01643-30823 | WASHER | 10001- | |
| 21 | 01220-40816 | SCREW | 10001- | |
| 22 | 428-54-12412 | COVER,L.H. | 10001- | |
| 23 | 428-54-12422 | COVER,R.H. | 10001- | |
| 24 | 01010-51235 | BOLT | 10001- | |
| 25 | 01643-31232 | WASHER | 10001- | |
| 26 | 01010-51225 | BOLT | 10001- | |
| 27 | 01643-31232 | WASHER | 10001- | |
| 28 | 428-54-12431 | COVER,L.H. | 10001- | |
| 29 | 428-54-12441 | COVER,R.H. | 10001- | |
| 30 | 01010-51225 | BOLT | 10001- | |
| 31 | 01643-31232 | WASHER | 10001- | |
| 35 | 428-54-14170 | COVER | 10001- | |
| 36 | 01010-51225 | BOLT | 10001- | |
| 37 | 01010-51255 | BOLT | 10001- | |
| 38 | 01643-31232 | WASHER | 10001- | |
| 39 | 428-54-14160 | MAT | 10001- | |
| 40 | 427-54-12380 | PLATE | 10001- | |
| 41 | 428-54-12850 | PLATE | 10001- | |
| 42 | 01220-40612 | SCREW | 10001- | |
| 43 | 01641-20608 | WASHER | 10001- |
