
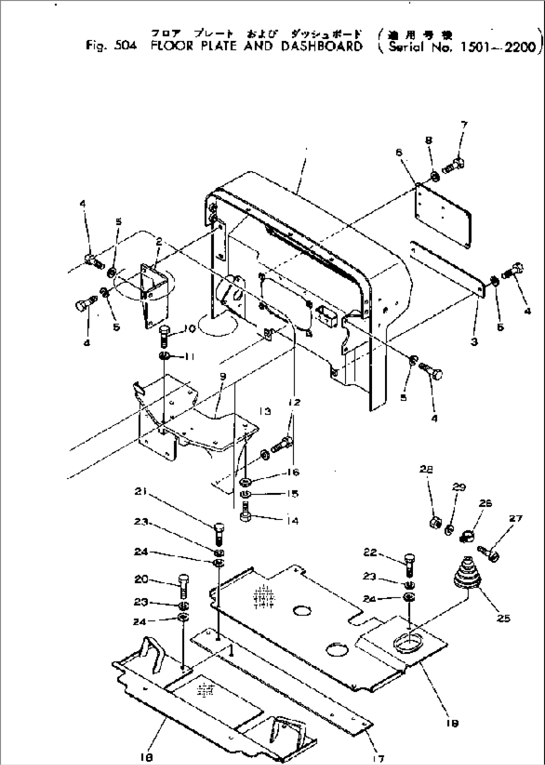
| Item | Part No. | Part Name | Qty | Serial No. |
| 1 | 124-54-21350 | DASHBOARD | 1563-2200 | |
| 1 | 12F-54-11250 | DASHBOARD | 1501-1562 | |
| 2 | 12F-54-11270 | BRACKET | 1501-2200 | |
| 3 | 12F-54-11260 | PLATE | 1501-2200 | |
| 4 | 01010-31225 | BOLT | 1501-2200 | |
| 5 | 01602-01236 | WASHER,SPRING | 1501-2200 | |
| 6 | 12F-54-11280 | PLATE | 1501-2200 | |
| 7 | 01010-30820 | BOLT | 1501-2200 | |
| 8 | 01602-00825 | WASHER,SPRING | 1501-2200 | |
| 9 | 124-54-23290 | BRACKET | 1501-2200 | |
| 10 | 01010-31260 | BOLT | 1501-@ | |
| 11 | 01602-01236 | WASHER,SPRING | 1501-@ | |
| 12 | 01010-31025 | BOLT | 1501-2200 | |
| 13 | 01602-01030 | WASHER,SPRING | 1501-@ | |
| 14 | 01010-31440 | BOLT | 1501-@ | |
| 15 | 01602-01442 | WASHER,SPRING | 1501-@ | |
| 16 | 01643-31445 | WASHER | 1501-@ | |
| 17 | 12F-54-11630 | PLATE,FLOOR | 1501-2200 | |
| 18 | 12F-54-11610 | PLATE,FLOOR | 1501-2200 | |
| 19 | 12F-54-11620 | PLATE,FLOOR | 1501-2200 | |
| 20 | 01010-31230 | BOLT | 1501-2200 | |
| 21 | 01010-31225 | BOLT | 1501-@ | |
| 22 | 01010-31255 | BOLT | 1501-2200 | |
| 23 | 01602-01236 | WASHER,SPRING | 1501-@ | |
| 24 | 01643-31232 | WASHER | 1501-@ | |
| 25 | 180-14-12370 | BOOT | 1501-2200 | |
| 26 | 131-14-42940 | CLAMP | 1501-2200 | |
| 27 | 01210-40416 | SCREW | 1501-2200 | |
| 28 | 01580-00403 | NUT | 1501-2200 | |
| 29 | 01601-00410 | WASHER,SPRING | 1501-2200 |
