
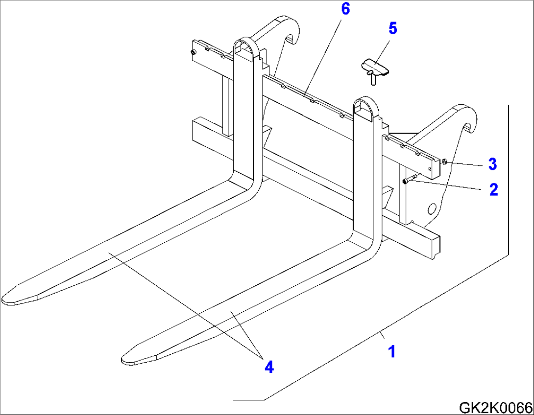
| Item | Part No. | Part Name | Qty | Serial No. |
| 1 | 42U-70-22180 | FORK LIFT ASSEMBLY | H60051- | |
| 2 | 01252-71050 | SCREW | H60051- | |
| 3 | 01580-11008 | NUT | H60051- | |
| 4 | 42U-70-22170 | PRONG | H60051- | |
| 5 | 42U-70-H0R58 | FORK LOCK | H60051- | |
| 6 | 42T-70-22041 | FORK LIFT | H60051- |

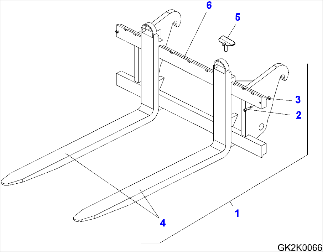
| Item | Part No. | Part Name | Qty | Serial No. |
| 1 | 42U-70-22180 | FORK LIFT ASSEMBLY | H60051- | |
| 2 | 01252-71050 | SCREW | H60051- | |
| 3 | 01580-11008 | NUT | H60051- | |
| 4 | 42U-70-22170 | PRONG | H60051- | |
| 5 | 42U-70-H0R58 | FORK LOCK | H60051- | |
| 6 | 42T-70-22041 | FORK LIFT | H60051- |