Ваш браузер устарел. Этот сайт может работать неполноценно или выглядеть сломанным. Обновите ваш браузер, если можете.
Наличие
Каталог запчастей
Контакты
+7 (423) 222-39-13
sharahov.komdir@vladremsnab.ru
Обратная связь
RU
EN
Наличие
Каталог запчастей
Контакты
+7 (423) 222-39-13
sharahov.komdir@vladremsnab.ru
RU
EN
Обратная связь
Главная
Каталог запчастей
Самосвалы
Afe57 cg 830e 1ac s/n a30365 a30370/a30380 a30381 (pilbara & paraburdoo & hope downs)
Hydraulic system
Front driveline protector
Поиск по каталогу
Найти!
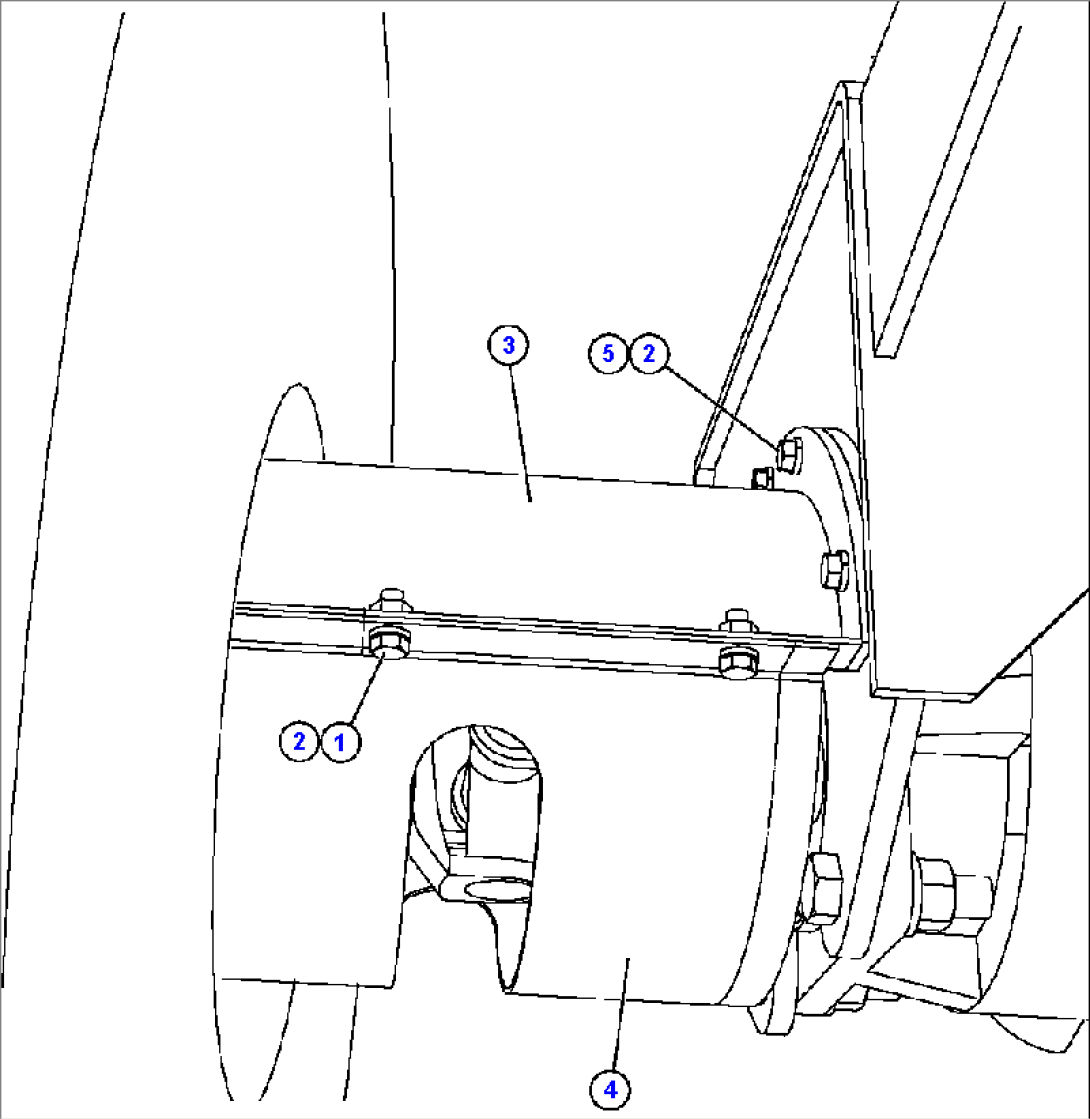
FRONT DRIVELINE PROTECTOR
Item
Part No.
Part Name
Qty
Serial No.
1
TL7218
CAPSCREW - 3/8" - 16NC X 7/8"
2
TC1231
LOCKWASHER - 3/8"
3
XB0522
COVER, TOP
4
EB5978
COVER, BOTTOM
5
TD0791
CAPSCREW - 3/8" - 16NC X 1 1/4"
Вернуться в каталог
Оформить заказ
auto
light
dark
Заявка
Имя
Телефон
Эл. почта
Товары в корзине:
Сообщение
Нажимая кнопку «Отправить», вы соглашаетесь с
пользовательским соглашением
и
политикой конфеденциальности
Отправить
Обратная связь
Имя
Телефон
Эл. почта
Сообщение
Нажимая кнопку «Отправить», вы соглашаетесь с
пользовательским соглашением
и
политикой конфеденциальности
Отправить