
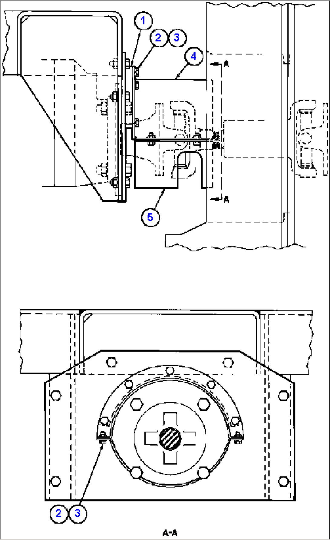
| Item | Part No. | Part Name | Qty | Serial No. |
| 1 | TZ8045 | RING, TAPPED | ||
| 2 | TL7218 | CAPSCREW - 3/8" - 16NC X 7/8" | ||
| 3 | TC1231 | LOCKWASHER - 3/8" | ||
| 4 | EB5976 | COVER, TOP | ||
| 5 | EB5978 | COVER, BOTTOM |

| Item | Part No. | Part Name | Qty | Serial No. |
| 1 | TZ8045 | RING, TAPPED | ||
| 2 | TL7218 | CAPSCREW - 3/8" - 16NC X 7/8" | ||
| 3 | TC1231 | LOCKWASHER - 3/8" | ||
| 4 | EB5976 | COVER, TOP | ||
| 5 | EB5978 | COVER, BOTTOM |