
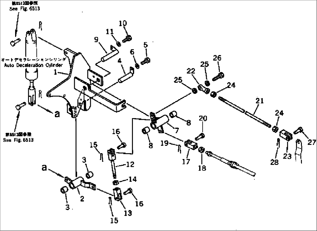
| Item | Part No. | Part Name | Qty | Serial No. |
| 1 | 203-43-42870 | BRACKET | 18001-21099 | |
| 2 | 203-43-42920 | LEVER | 18001-21099 | |
| 3 | 09350-02220 | BUSHING | 18001-21099 | |
| 4 | 203-43-42910 | SHAFT | 18001-21099 | |
| 5 | 01010-50816 | BOLT | 18001-21099 | |
| 6 | 01643-30823 | WASHER | 18001-21099 | |
| 7 | 203-43-42890 | LEVER | 18001-21099 | |
| 8 | 09350-02220 | BUSHING | 18001-21099 | |
| 9 | 203-43-42910 | SHAFT | 18001-21099 | |
| 10 | 01010-50816 | BOLT | 18001-21099 | |
| 11 | 01643-30823 | WASHER | 18001-21099 | |
| 12 | 04244-41011 | ROD | 18001-21099 | |
| 13 | 04210-21040 | YOKE | 18001-21099 | |
| 14 | 01582-11008 | NUT | 18001-21099 | |
| 15 | 04050-13018 | PIN,COTTER | 18001-21099 | |
| 16 | 04205-11028 | PIN | 18001-21099 | |
| 17 | 144-947-2850 | YOKE | 18001-21099 | |
| 18 | 01580-11008 | NUT | 18001-21099 | |
| 19 | 04050-13018 | PIN,COTTER | 18001-21099 | |
| 20 | 04205-11028 | PIN | 18001-21099 | |
| 21 | 04245-51038 | ROD | 18001-21099 | |
| 22 | 04250-81068 | END,ROD | 18001-21099 | |
| 23 | 203-06-41350 | YOKE | 18001-21099 | |
| 24 | 01582-11008 | NUT | 18001-21099 | |
| 25 | 04254-01032 | SPACER | 18001-21099 | |
| 26 | 01010-51035 | BOLT | 18001-21099 | |
| 27 | 04205-10522 | PIN | 18001-21099 | |
| 28 | 04050-11612 | PIN,COTTER | 18001-21099 |
