
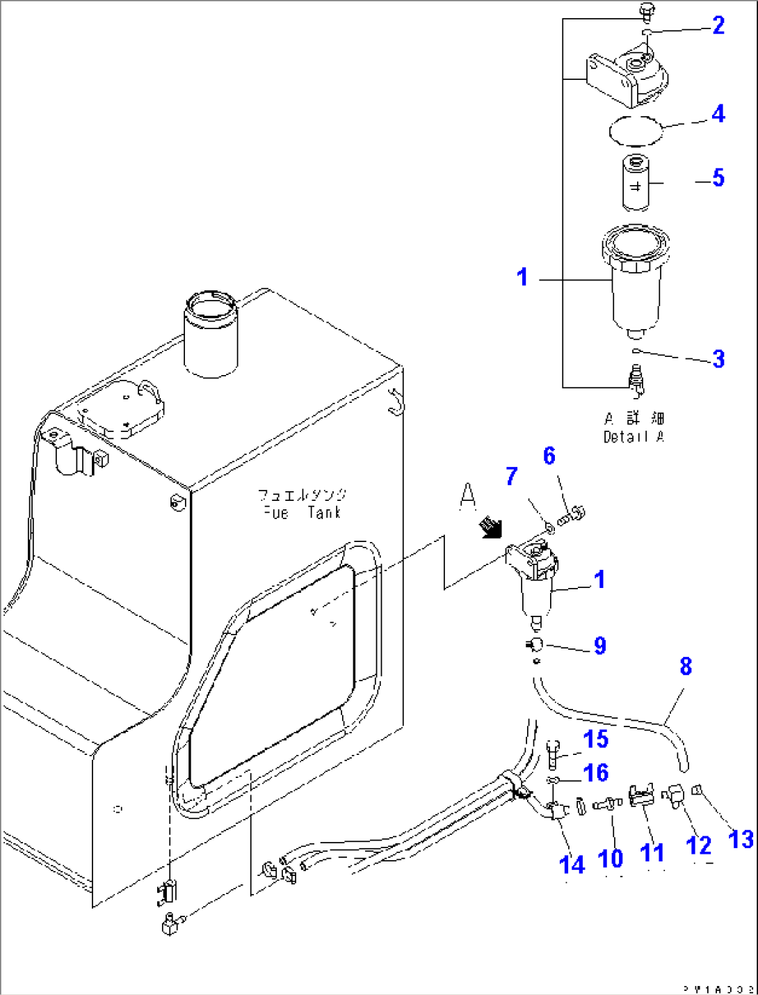
| Item | Part No. | Part Name | Qty | Serial No. |
| 1 | 22U-04-21131 | WATER SEPARATOR | 20001- | |
| 2 | 07000-11006 | O-RING | 20001- | |
| 3 | 07000-11007 | O-RING | 20001- | |
| 4 | 07000-12065 | O-RING | 20001- | |
| 5 | 22U-04-21260 | ELEMENT | 20001- | |
| 6 | 01010-81030 | BOLT | 20001- | |
| 7 | 01643-31032 | WASHER | 20001- | |
| 8 | 07270-40703 | TUBE | 20005- | |
| 07270-40704 | TUBE | 20001-20004 | ||
| 9 | 07285-00100 | CLIP | 20005- | |
| 07285-00085 | CLIP | 20001-20004 | ||
| 10 | 154-04-11540 | NIPPLE | 20001- | |
| 11 | 07700-50240 | VALVE | 20001- | |
| 12 | 22U-04-12230 | TEE | 20001- | |
| 13 | 07043-A0108 | PLUG | 20001- | |
| 14 | 04434-51612 | CLIP | 20001- | |
| 15 | 01010-81225 | BOLT | 20001- | |
| 16 | 01643-31232 | WASHER | 20001- |
