
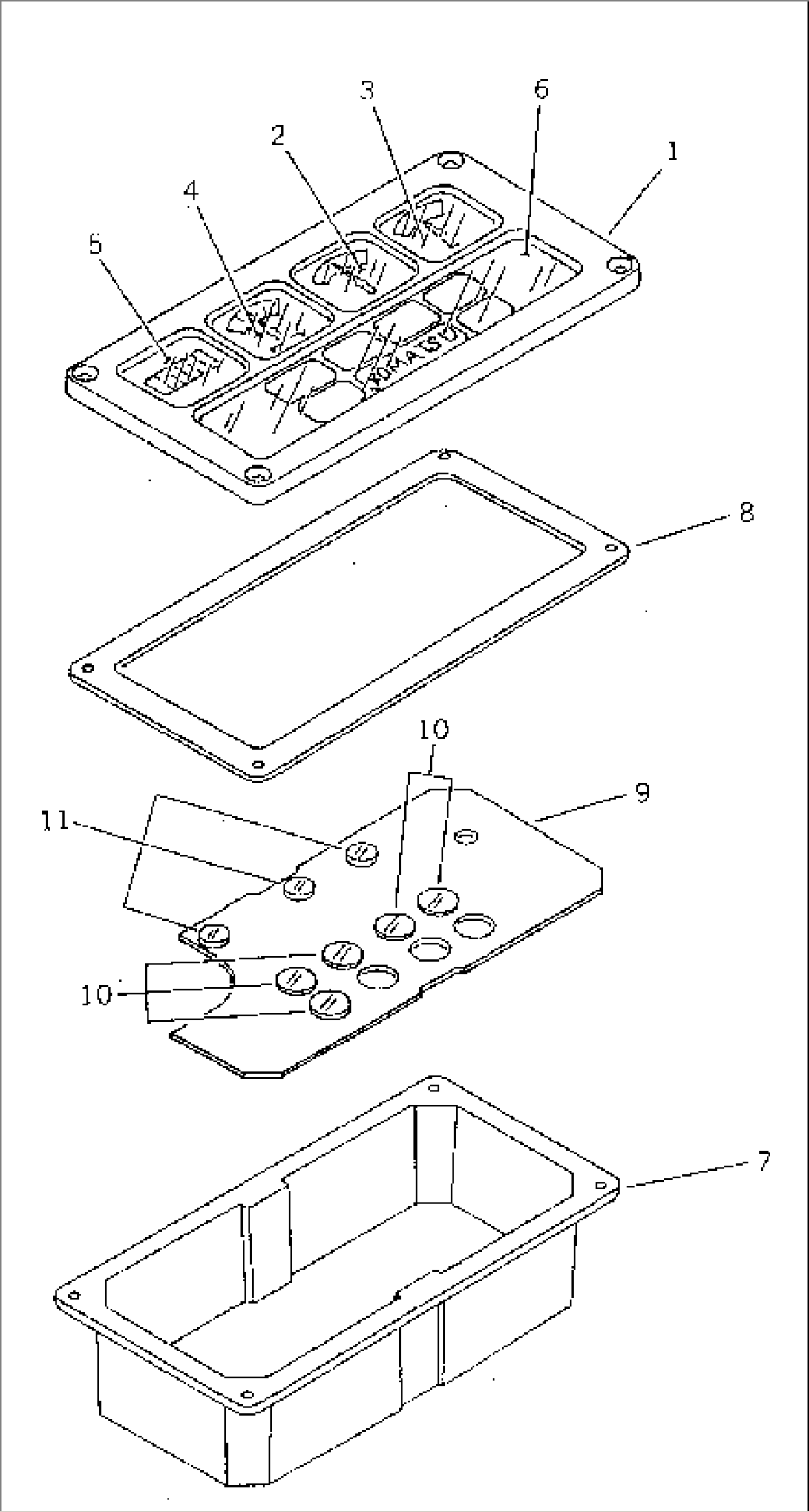
| Item | Part No. | Part Name | Qty | Serial No. |
| 363-06-22122 | GAUGE CLUSTER | 9001- | ||
| 1 | KA11245-KA1100 | BEZEL | 9001- | |
| 2 | KA90413-KA2030 | GAUGE,FUEL LEVEL | 9001- | |
| 3 | KA90403-KA2020 | GAUGE,TORQUE CONVERTER OIL TEMP. | 9001- | |
| 4 | KA90403-KA2430 | GAUGE,WATER TEMPERATURE | 9001- | |
| 5 | KA90283-KA2400 | METER,SERVICE | 9001- | |
| 6 | KA11113-KA2030 | LENS,WARNING | 9001- | |
| 7 | KA11371-KA2001 | HOUSING | 9001- | |
| 8 | KA11241-KA1100 | GASKET | 9001- | |
| 9 | KA11630-KA2030 | CIRCUIT ASS'Y | 9001- | |
| 10 | KA11700-EK0100 | BULB ASS'Y | 9001- | |
| KA099-11434 | BULB¤ 4W | 9001- | ||
| 11 | KA11650-KA2400 | BULB ASS'Y | 9001- | |
| KA79161-AK3800 | BULB¤ 2W | 9001- |
