
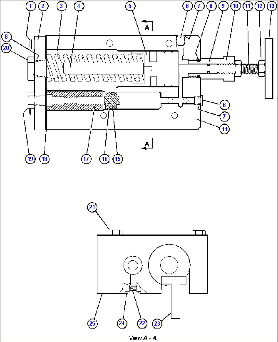
| Item | Part No. | Part Name | Qty | Serial No. |
| 1 | BF1688 | CAPSCREW, SOCKET | ||
| 2 | BF1686 | COVER, CONTROL | ||
| 3 | BF1684 | SPRING, CONTROL | ||
| 4 | BF1689 | STOP, CONTROL PISTON | ||
| 5 | BF1681 | PISTON, CONTROL | ||
| 6 | VE9610 | PLUG | ||
| 7 | VE9613 | O-RING | ||
| 8 | BF1330 | O-RING | ||
| 9 | BF1696 | O-RING | ||
| 10 | BF1694 | ADAPTER, VOLUME STEM | ||
| 11 | BF1695 | STEM, MAX STOP | ||
| 12 | BF1693 | NUT, JAM | ||
| 13 | BF1692 | KNOB, CONTROL | ||
| 14 | BF1683 | HOUSING, HAND WHEEL | ||
| 15 | BF1678 | O-RING | ||
| 16 | BF1685 | O-RING | ||
| 17 | BF1690 | SPACER | ||
| 18 | BF1682 | GASKET, COVER | ||
| 19 | BF1679 | CAPSCREW | ||
| 20 | BF1680 | PLUG | ||
| 21 | BF1677 | CAPSCREW | ||
| 22 | BF1691 | CAPSCREW | ||
| 23 | BF1687 | PIN, CONTROL PISTON | ||
| 24 | BF0567 | O-RING | ||
| 25 | BF0568 | GASKET, TOP PLATE |
