Ваш браузер устарел. Этот сайт может работать неполноценно или выглядеть сломанным. Обновите ваш браузер, если можете.
Наличие
Каталог запчастей
Контакты
+7 (423) 222-39-13
sharahov.komdir@vladremsnab.ru
Обратная связь
RU
EN
Наличие
Каталог запчастей
Контакты
+7 (423) 222-39-13
sharahov.komdir@vladremsnab.ru
RU
EN
Обратная связь
Главная
Каталог запчастей
Самосвалы
Afe57 w 830e ac s/n a30099/a30102 (colowyo)
Hydraulic system
Hoist pump installation
Поиск по каталогу
Найти!
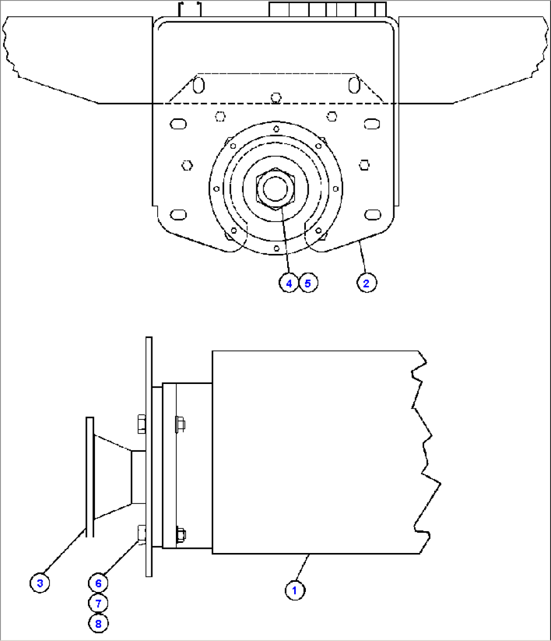
HOIST PUMP INSTALLATION
Item
Part No.
Part Name
Qty
Serial No.
1
PB8761
PUMP, DOUBLE GEAR (SEE INDEX)
2
EL3478
MOUNT, PUMP/VALVE
3
PB7940
FLANGE, COMPANION
4
H0989
JAM NUT - 1" - 14NF
5
EB3976
WASHER (SPECIAL)
6
TH3747
LOCKNUT - 3/4" - 10NC
7
WA0362
FLAT WASHER - 3/4" (HARDENED)
8
C1648
CAPSCREW - 3/4" - 10NC X 3"
Вернуться в каталог
Оформить заказ
auto
light
dark
Заявка
Имя
Телефон
Эл. почта
Товары в корзине:
Сообщение
Нажимая кнопку «Отправить», вы соглашаетесь с
пользовательским соглашением
и
политикой конфеденциальности
Отправить
Обратная связь
Имя
Телефон
Эл. почта
Сообщение
Нажимая кнопку «Отправить», вы соглашаетесь с
пользовательским соглашением
и
политикой конфеденциальности
Отправить