
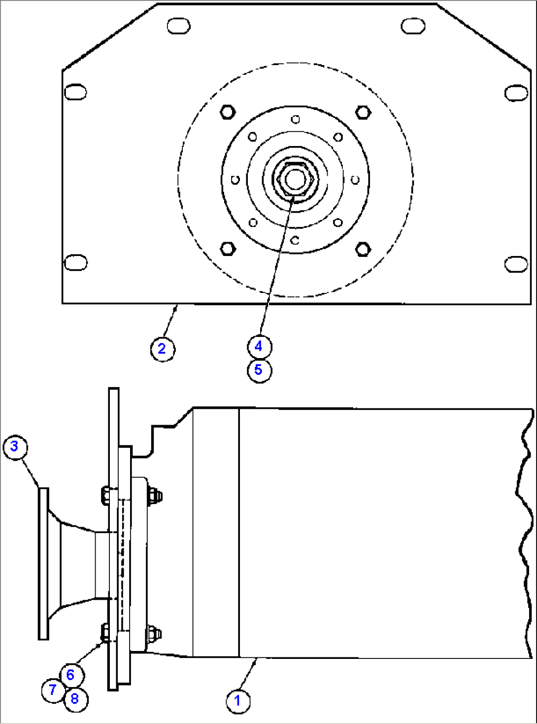
| Item | Part No. | Part Name | Qty | Serial No. |
| 1 | PB9907 | HOIST PUMP ASSM (SEE INDEX) | ||
| 2 | EC1202 | SUPPORT | ||
| 3 | PB7940 | FLANGE, COMPANION | ||
| 4 | H0989 | JAM NUT - 1" - 14NF | ||
| 5 | EB3976 | WASHER | ||
| 6 | C1527 | NUT - 3/4" - 10NC | ||
| 7 | WA0362 | FLAT WASHER - 3/4" | ||
| 8 | C1647 | CAPSCREW - 3/4" - 10NC X 2 3/4" |
