
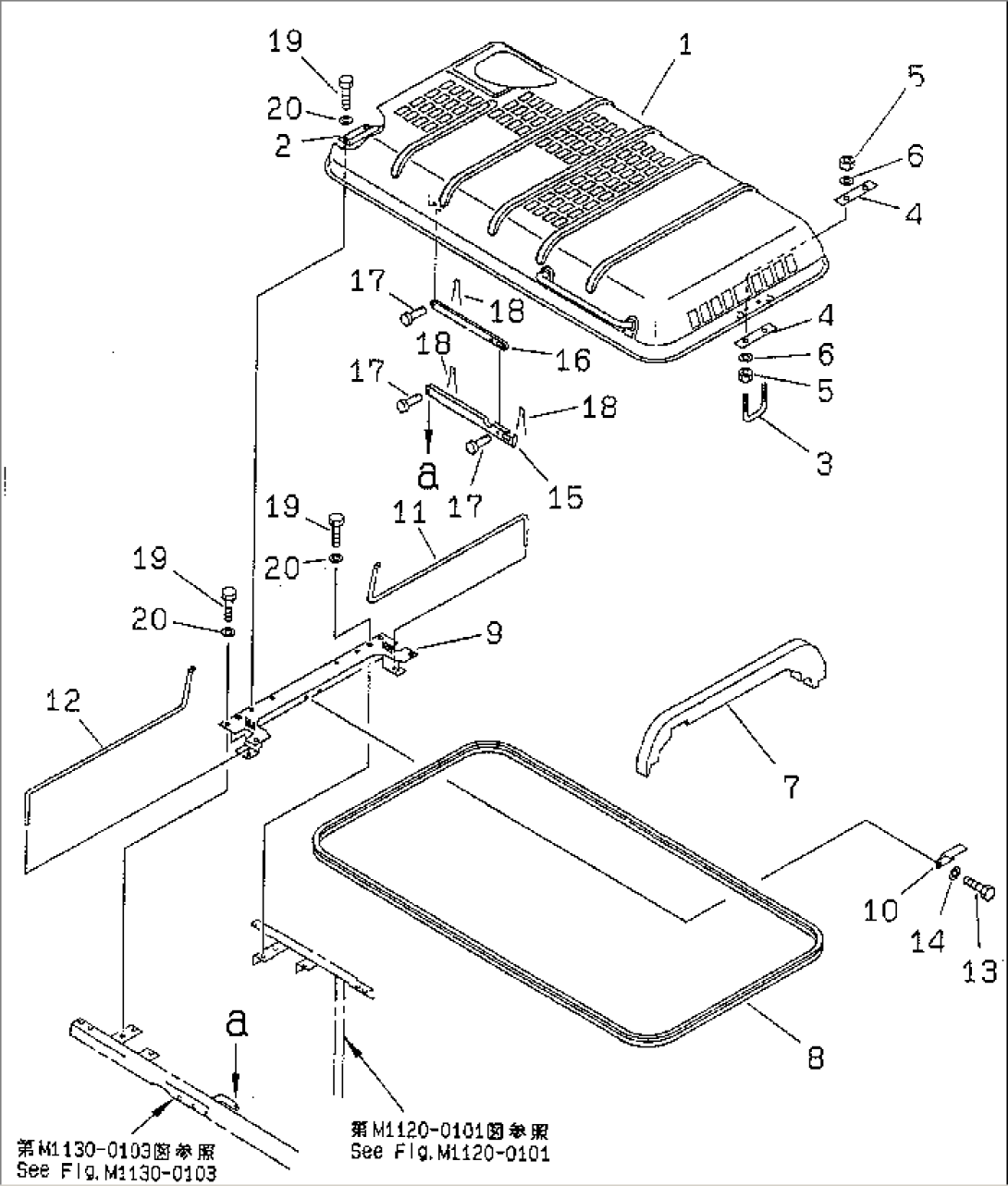
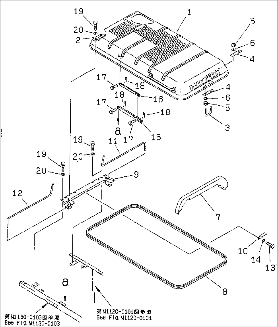
| Item | Part No. | Part Name | Qty | Serial No. |
| 1 | 20Y-54-27113 | HOOD | 80001-@ | |
| 2 | 20Y-54-27123 | HINGE (WELDED) | 80001-@ | |
| 3 | 20Y-54-27172 | U-BOLT | 80001-@ | |
| 4 | 20Y-54-27330 | PLATE | 80001-@ | |
| 5 | 01580-11210 | NUT | 89406-@ | |
| 5 | 01580-01210 | NUT | 80001-89405 | |
| 6 | 01643-31232 | WASHER | 80001-@ | |
| 7 | 20Y-54-27242 | SHEET | 80001-94998 | |
| 8 | 20Y-54-29290 | SEAL | 80001-@ | |
| 9 | 20Y-54-27323 | FRAME | 83115-94998 | |
| 9 | 20Y-54-27322 | FRAME | 80001-83114 | |
| 10 | 20Y-54-27360 | BRACKET | 80001-83114 | |
| 11 | 20Y-54-27141 | SPRING | 80001-@ | |
| 12 | 20Y-54-27131 | SPRING | 80001-@ | |
| 13 | 01010-51225 | BOLT | 80001-94998 | |
| 14 | 01643-31232 | WASHER | 80001-94998 | |
| 15 | 20Y-54-27370 | STAY | 80001-@ | |
| 16 | 20Y-54-27290 | STAY | 80001-@ | |
| 17 | 04205-11230 | PIN | 80001-@ | |
| 18 | 04050-13022 | PIN | 80001-@ | |
| 19 | 01010-51230 | BOLT | 80001-94998 | |
| 20 | 01643-31232 | WASHER | 80001-@ |
