
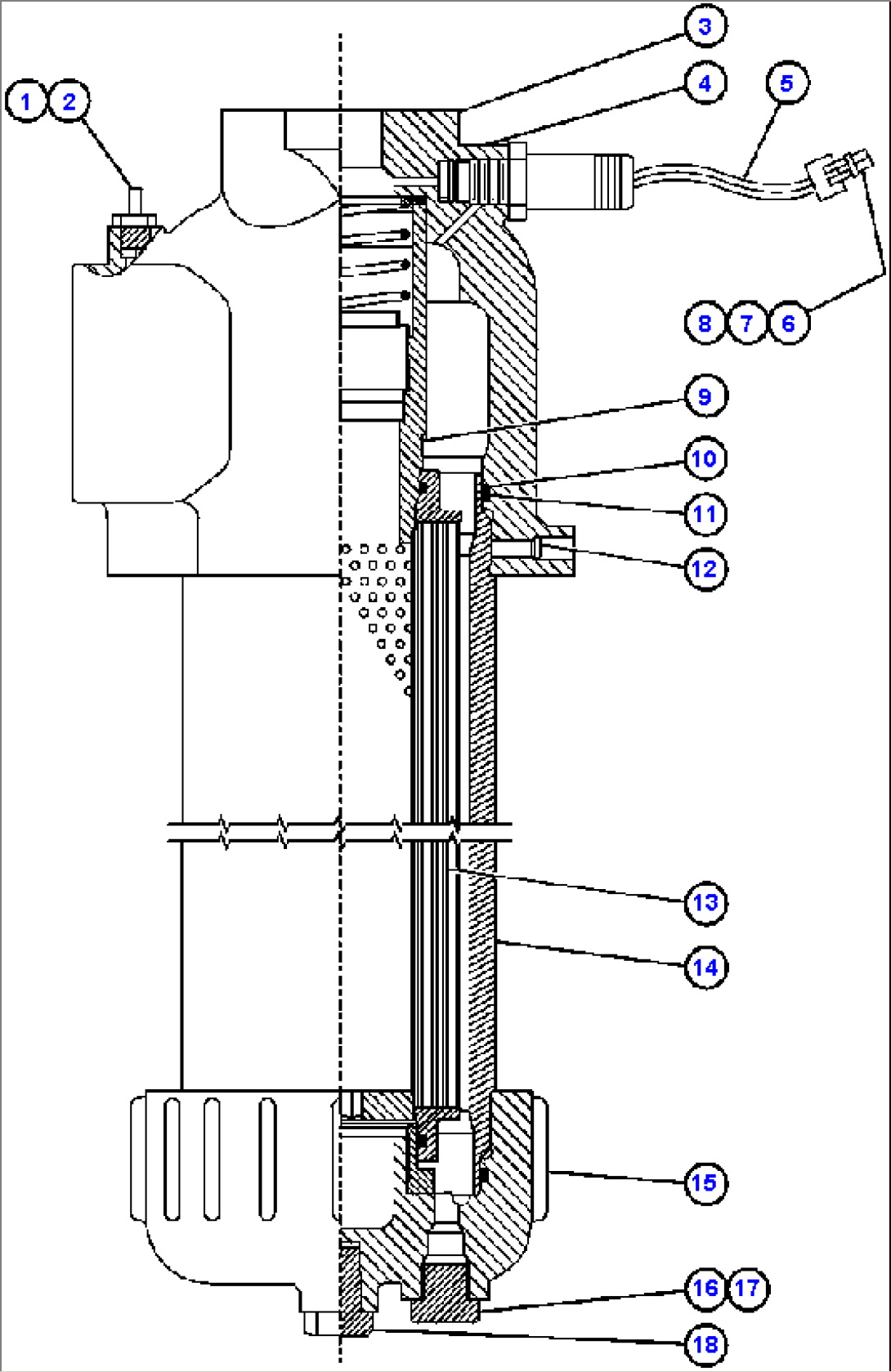
| Item | Part No. | Part Name | Qty | Serial No. |
| 1 | PB6770 | COUPLING, DIAGNOSTIC | ||
| 2 | TF5194 | O-RING | ||
| 3 | BF2192 | HEAD (1) | ||
| 4 | VE2607 | INDICATOR, PRESSURE | ||
| 5 | LW41351 | SLEEVE, INSULATION | ||
| 6 | PB7743 | CONNECTOR | ||
| 7 | PB7740 | TERMINAL | ||
| 8 | PB7034 | SEAL, CABLE | ||
| 9 | BF4801 | CORE | ||
| 10 | TG4083 | O-RING | ||
| 11 | BF2196 | RING, BACKUP | ||
| 12 | BF2197 | SETSCREW | ||
| 13 | AK3570 | ELEMENT | ||
| 14 | BF2198 | TUBE (1) | ||
| 15 | BF3632 | COVER | ||
| 16 | VE1978 | PLUG, DRAIN | ||
| 17 | SV9812 | O-RING | ||
| 18 | BF2194 | PLUG, BOTTOM | ||
| NS|19 | NOTE: (1) NOT SERVICED SEPARATELY. |
