
| Item | Part No. | Part Name | Qty | Serial No. |
| (708-23-04014) | PUMP ASS'Y,HYDRAULIC (HPV55+55) | 14144- | ||
| \0\708-23-04013 | PUMP ASS'Y,HYDRAULIC (HPV55+55) | 14001-14143 | ||
| (\2\708-23-04012) | PUMP ASS'Y,HYDRAULIC (HPV55+55) | (14001-14053) | ||
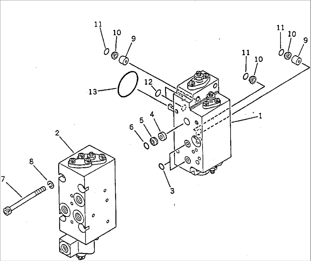
| (708-23-04612) | VALVE ASS'Y,REAR | 14001- | ||
| 1 | (708-23-16502) | VALVE SUB ASS'Y,REAR | 14001- | |
| 2 | (708-23-04811) | VALVE ASS'Y,C.O. AND N.C. | 14001- | |
| 3 | 07000-02011 | O-RING | 14001- | |
| 4 | 708-25-19191 | ORIFICE | 14001- | |
| 5 | 720-68-11920 | FILTER | 14001- | |
| 6 | 07000-12010 | O-RING | 14001- | |
| 7 | 708-25-19160 | BOLT | 14001- | |
| 8 | 01602-20825 | WASHER,SPRING | 14001- | |
| 9 | 708-23-19130 | ORIFICE | 14001- | |
| 10 | 720-68-11920 | FILTER | 14001- | |
| 11 | 07000-12010 | O-RING | 14001- | |
| 12 | 07000-11009 | O-RING | 14001- | |
| 13 | 07000-03048 | O-RING | 14001- |
