
| Item | Part No. | Part Name | Qty | Serial No. |
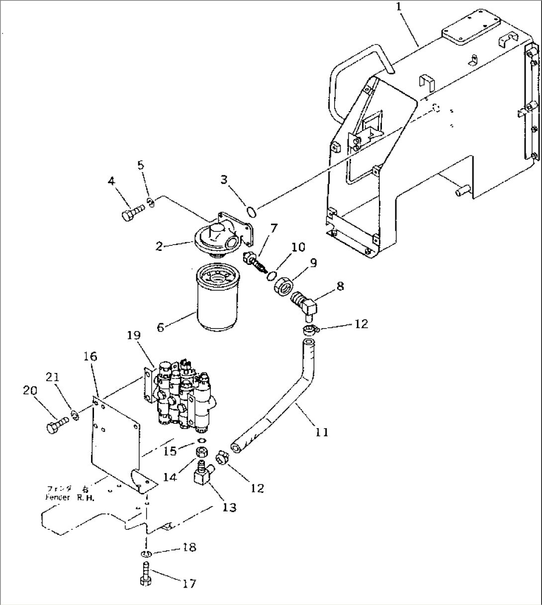
| 1 | (104-54-34311) | CASE,HYDRAULIC | 75001-78603 | |
| (104-54-39230) | CASE,HYDRAULIC (FOR ROPS CAB) | 75001-78603 | ||
| 2 | 113-60-43310 | BASE | 75001-@ | |
| 3 | 07000-03032 | O-RING | 75001-@ | |
| 4 | 01010-51025 | BOLT | 75001-@ | |
| 5 | 01602-21030 | WASHER,SPRING | 75001-@ | |
| 6 | 113-60-43321 | CARTRIDGE | 75001-@ | |
| 7 | 113-60-43330 | VALVE | 75001-@ | |
| 8 | 103-60-23151 | ELBOW | 75001-@ | |
| 9 | 113-60-23120 | NUT | 75001-@ | |
| 10 | 07002-03334 | O-RING | 75001-@ | |
| 11 | 103-60-33141 | HOSE | 75001-78603 | |
| 12 | 07281-00359 | CLAMP | 75001-@ | |
| 13 | 103-60-23121 | NIPPLE | 75001-78603 | |
| 14 | 103-60-23170 | NUT | 75001-@ | |
| 15 | 07002-02034 | O-RING | 75001-@ | |
| 103-60-32111 | BRACKET | 75001-78603 | ||
| 17 | 01010-50825 | BOLT | 75001-@ | |
| 18 | 01602-20825 | WASHER,SPRING | 75001-@ | |
| 19 | (700-22-14005) | VALVE ASS'Y | 76441-78603 | |
| (700-22-14003) | VALVE ASS'Y | 75001-76440 | ||
| 20 | 01010-50825 | BOLT | 75001-@ | |
| 21 | 01602-20825 | WASHER,SPRING | 75001-@ |
