
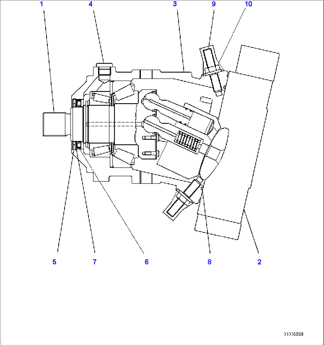
| Item | Part No. | Part Name | Qty | Serial No. | 
| 417-18-31203 | Motor | 71824- | ||
| 417-18-31202 | Motor | 70883-71823 | ||
| 1 | UC4706054228 | Rotary Group | 70883- | |
| 2 | UCR902121755 | Controller | 70883- | |
| 3 | (UC1020675205) | Housing | 70883- | |
| 4 | UC4100105483 | Plug Assembly | 70883- | |
| 4 | UC1303026124 | O-ring | 70883- | |
| 5 | UC1700834122 | Washer, Spring | 70883- | |
| 6 | UC1708311782 | Oil | 70883- | |
| 7 | UC1700871882 | Shim | 70883- | |
| 8 | UC1300521002 | O-ring | 70883- | |
| 9 | (UC4704468625) | Screw | 70883- | |
| 10 | (UC1701524596) | Nut, Lock, Seal | 70883- | 
