
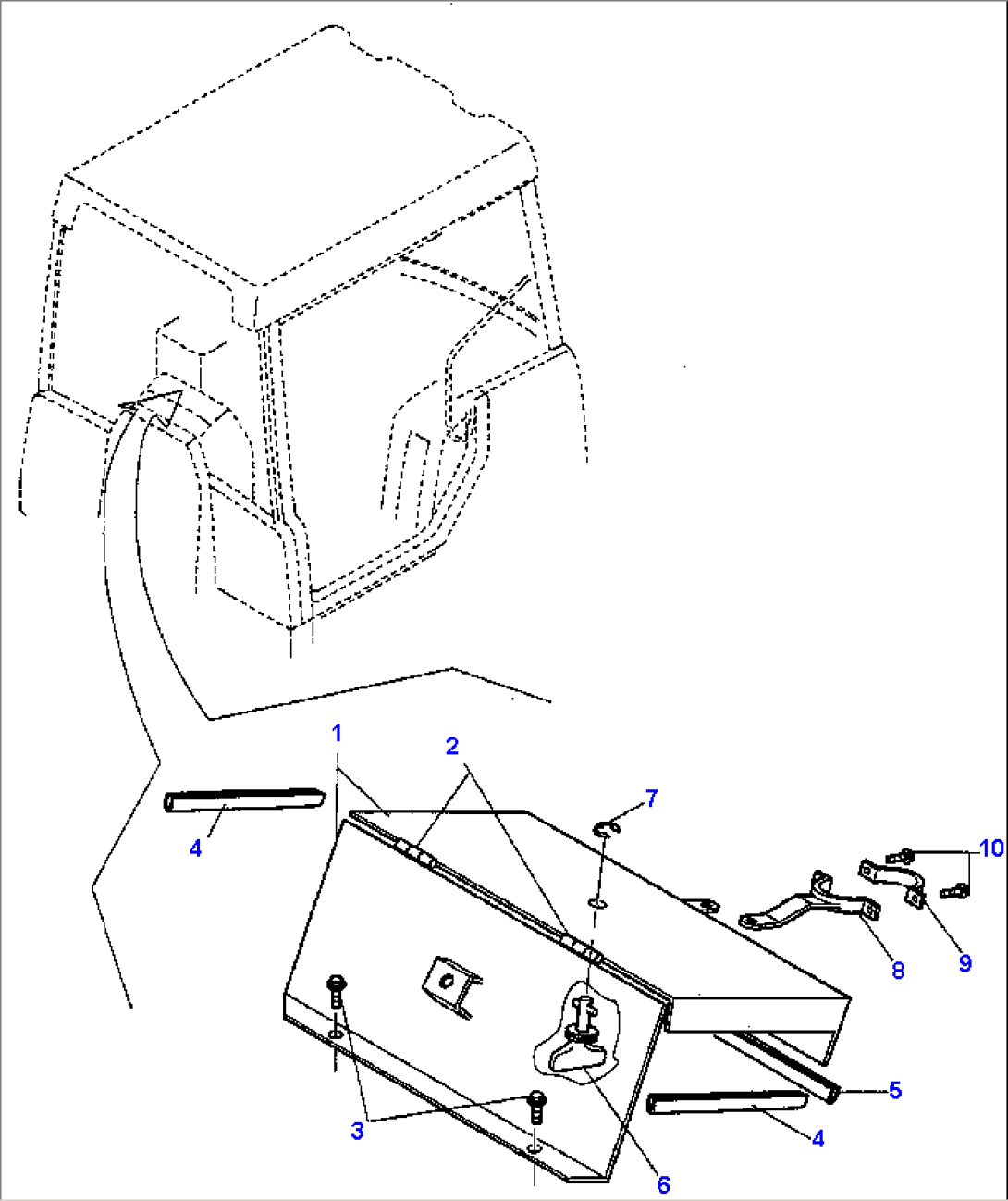
| Item | Part No. | Part Name | Qty | Serial No. |
| 1 | 42W-56-11150 | COVERING | ||
| 2 | 42W-09-H0950 | HINGE | ||
| 3 | 01435-00814 | SCREW | ||
| 4 | 421-849-H190 | PROTECTIVE STRIP | ||
| 5 | 421-849-H190 | PROTECTIVE STRIP | ||
| 6 | 42W-09-H0960 | HASP | ||
| 7 | 42W-09-H0980 | RETAINER | ||
| 8 | 42W-56-11160 | BRACKET | ||
| 9 | 42W-56-11D50 | CLIP | ||
| 10 | 01435-00820 | SCREW |
