
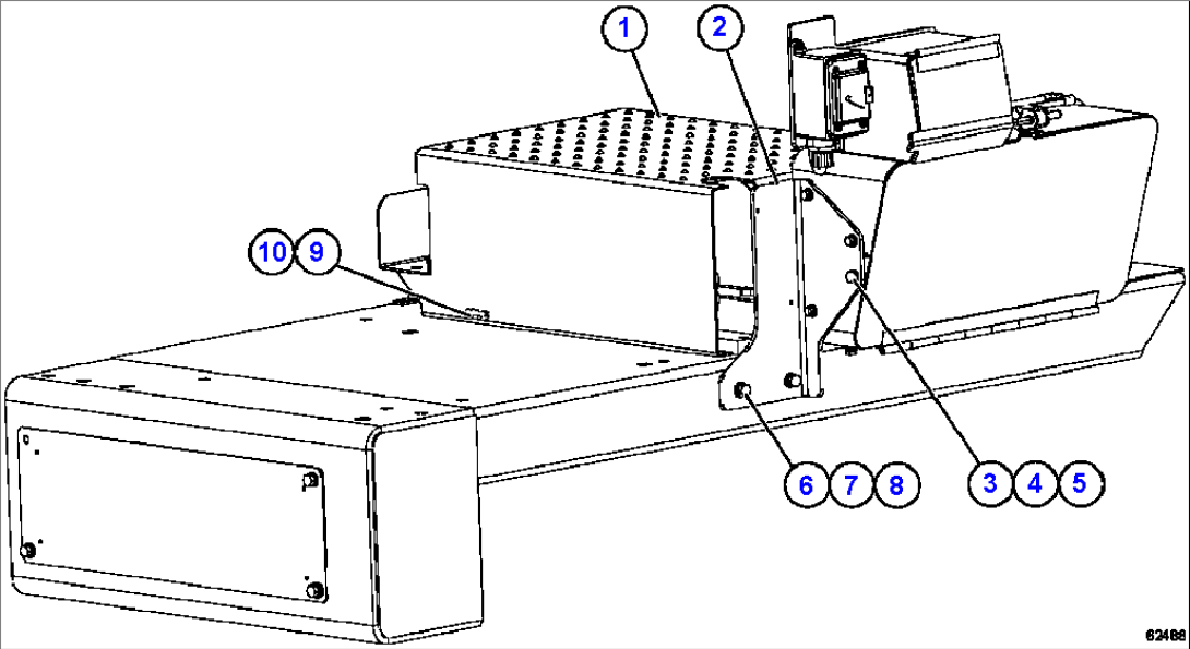
| Item | Part No. | Part Name | Qty | Serial No. |
| 1 | 58F-54-10000 | COVER | ||
| 2 | XB2939 | PLATFORM ASSEMBLY | ||
| 3 | MM0594 | CAPSCREW - M8 X 1.25 X 25 | ||
| 4 | MM0470 | LOCKWASHER - M8 | ||
| 5 | MM0460 | FLAT WASHER - M8 | ||
| 6 | MM0606 | CAPSCREW - M10 X 1.50 X 30 | ||
| 7 | MM0471 | LOCKWASHER - M10 | ||
| 8 | MM0461 | FLAT WASHER - M10 | ||
| 9 | MM0462 | FLAT WASHER - M12 | ||
| 10 | MM0472 | LOCKWASHER - M12 |
