
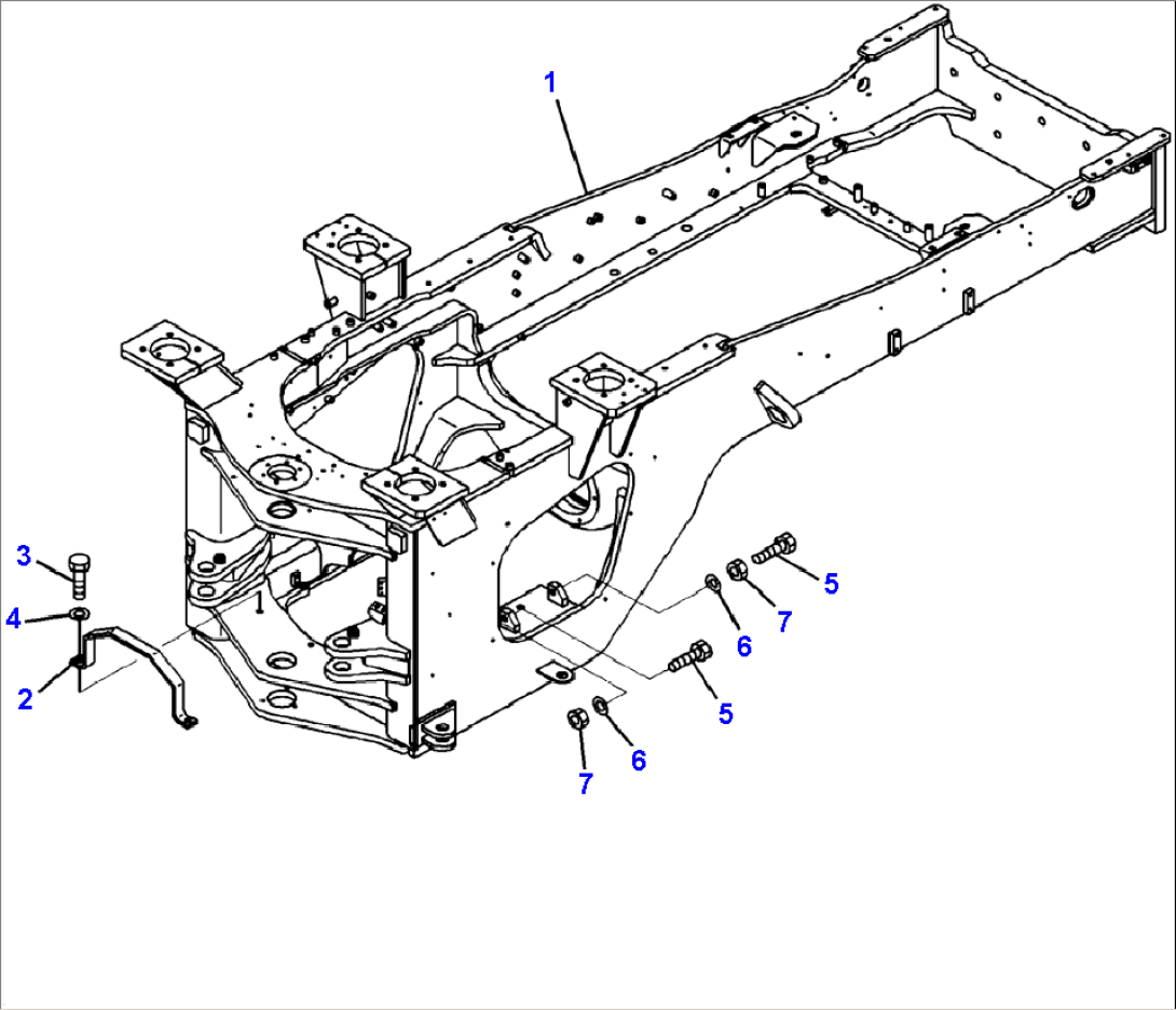
| Item | Part No. | Part Name | Qty | Serial No. |
| 1 | 421-46-42300 | FRAME, REAR | A45001-- | |
| 2 | 421-46-42160 | GUARD | A45001-- | |
| 3 | 01010-81640 | BOLT | A45001-- | |
| 4 | 01643-31645 | WASHER | A45001-- | |
| 5 | 01016-52080 | BOLT | A45001-- | |
| 6 | 01643-32060 | WASHER | A45001-- | |
| 7 | 01580-12016 | NUT | A45001-- |

| Item | Part No. | Part Name | Qty | Serial No. |
| 1 | 421-46-42300 | FRAME, REAR | A45001-- | |
| 2 | 421-46-42160 | GUARD | A45001-- | |
| 3 | 01010-81640 | BOLT | A45001-- | |
| 4 | 01643-31645 | WASHER | A45001-- | |
| 5 | 01016-52080 | BOLT | A45001-- | |
| 6 | 01643-32060 | WASHER | A45001-- | |
| 7 | 01580-12016 | NUT | A45001-- |