
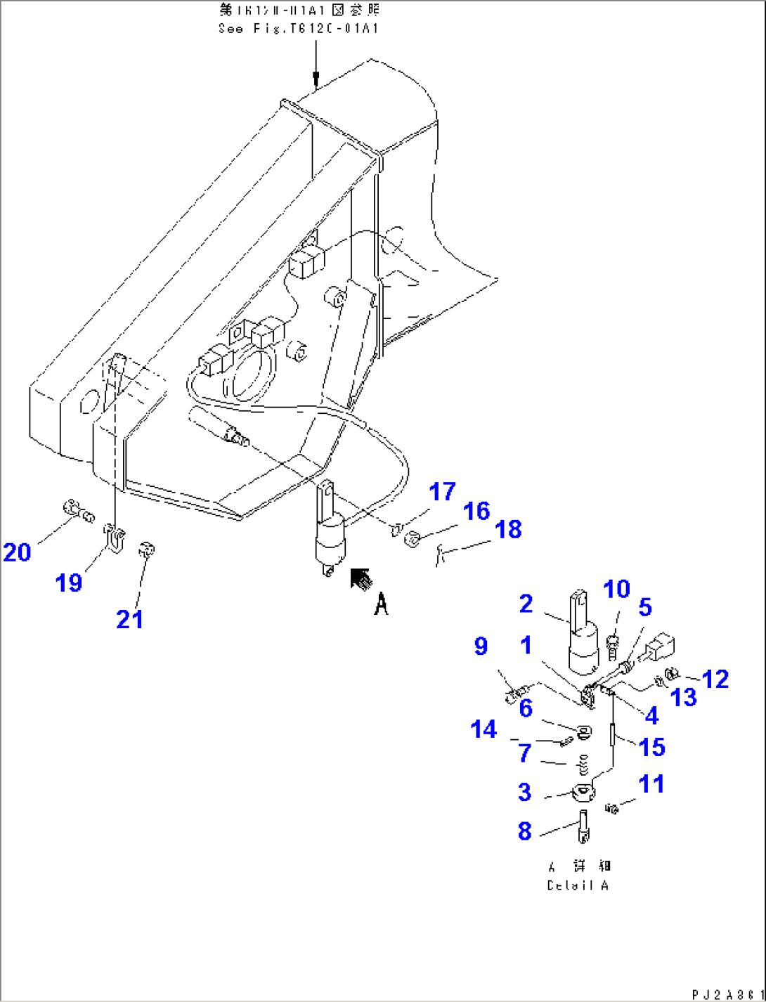
| Item | Part No. | Part Name | Qty | Serial No. |
| 23W-07-22200 | SWITCH ASS'Y,OVER-WINDING | 53201- | ||
| 1 | 23W-07-22210 | SWITCH,LIMIT | 53201- | |
| 2 | 23W-07-22220 | CASE | 53201- | |
| 3 | 23W-07-22230 | CAP | 53201- | |
| 4 | 23W-07-22240 | PLATE | 53201- | |
| 5 | 23W-07-22270 | PLUG | 53201- | |
| 6 | 23S-07-32350 | CAP | 53201- | |
| 7 | 23W-07-22280 | SPRING | 53201- | |
| 8 | 23W-07-22260 | ROD | 53201- | |
| 9 | 01023-80112 | SCREW | 53201- | |
| 10 | 01023-80310 | SCREW | 53201- | |
| 11 | 01310-20812 | SCREW,SET | 53201- | |
| 12 | 01580-50101 | NUT | 53201- | |
| 13 | 01640-20205 | WASHER | 53201- | |
| 14 | 04025-00320 | PIN,SPRING | 53201- | |
| 15 | 08527-00325 | POLE | 53201- | |
| 16 | 01590-31012 | NUT | 53001- | |
| 17 | 01643-31032 | WASHER | 53001- | |
| 18 | 04050-12018 | PIN,COTTER | 53001- | |
| 19 | 22T-07-18141 | SHACKLE | 53001- | |
| 20 | 22T-07-18150 | BOLT | 53001- | |
| 21 | 22T-07-18160 | NUT | 53001- |
