
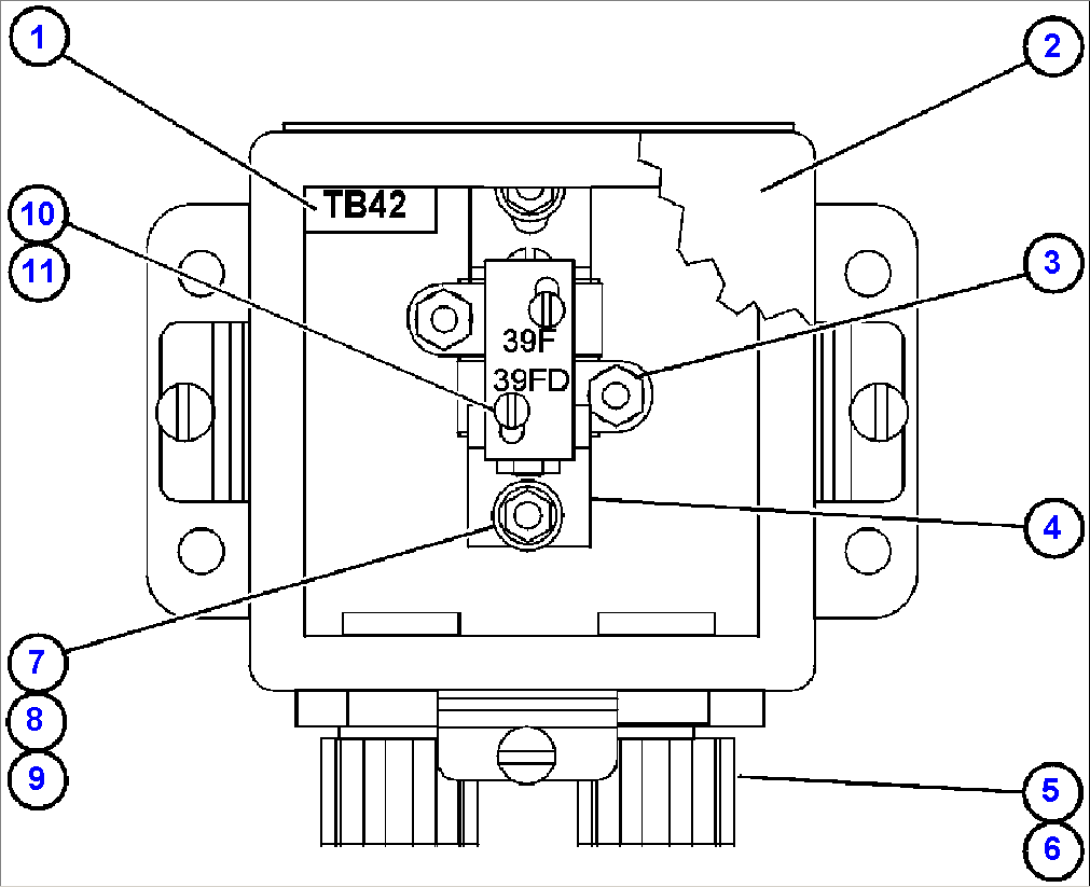
| Item | Part No. | Part Name | Qty | Serial No. |
| 1 | WB2672 | PLATE, NAME - TB42 | ||
| 2 | EH4899 | BOX W/COVER | ||
| 3 | WA3367 | NUT ASSEMBLY | ||
| 4 | EG7518 | STRIP, TERMINAL | ||
| 5 | VM5587 | LOCKNUT, CONDULET | ||
| 6 | VM5737 | GRIP, CORD | ||
| 7 | MM0459 | FLAT WASHER - M6 | ||
| 8 | MM0206 | LOCKWASHER - M5 | ||
| 9 | MM0373 | NUT - M5 | ||
| 10 | WB2677 | STRIP, CIRCUIT - I.D. | ||
| 11 | VM2951 | SCREW, SELF-TAPPING - #6 X 5/16" |
