
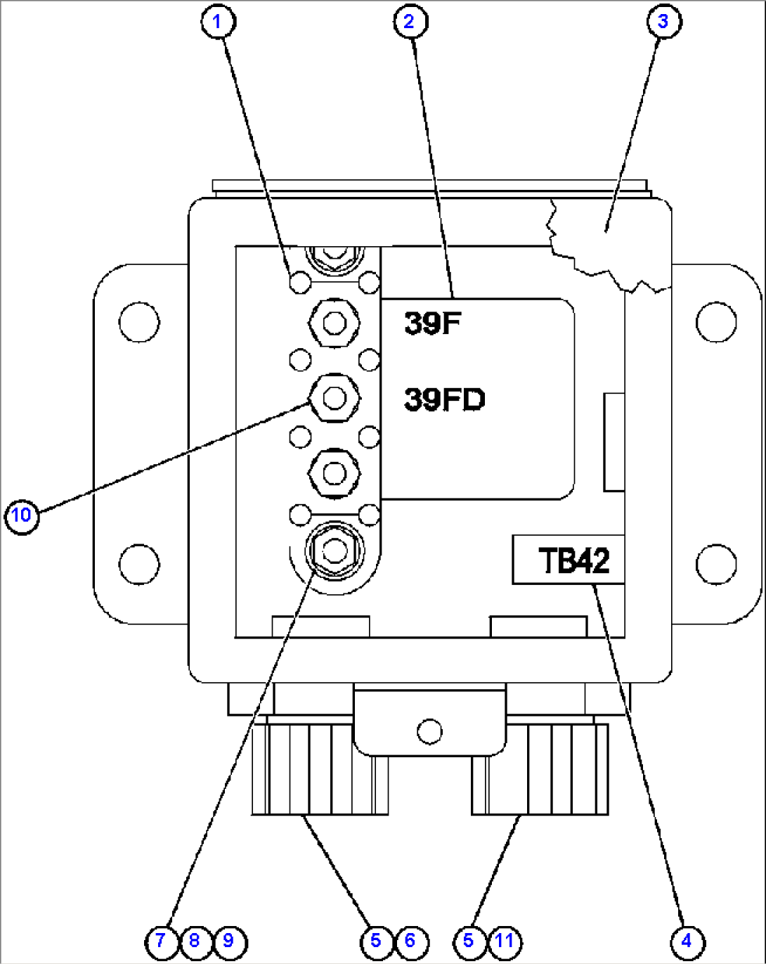
| Item | Part No. | Part Name | Qty | Serial No. |
| 1 | PC1305 | BLOCK, TERMINAL | ||
| 2 | WB2935 | DECAL, CIRCUIT - I.D. | ||
| 3 | EK1721 | BOX W/COVER | ||
| 4 | WB2672 | PLATE, NAME - TB42 | ||
| 5 | VM5587 | LOCKNUT, CONDULET - 1/2" | ||
| 6 | VM5737 | GRIP, CORD | ||
| 7 | MM0459 | FLAT WASHER - M6 | ||
| 8 | MM0206 | LOCKWASHER - M5 | ||
| 9 | MM0373 | NUT - M5 X 0.80 | ||
| 10 | WA3367 | NUT ASSEMBLY | ||
| 11 | VZ3046 | GRIP, CORD |
