
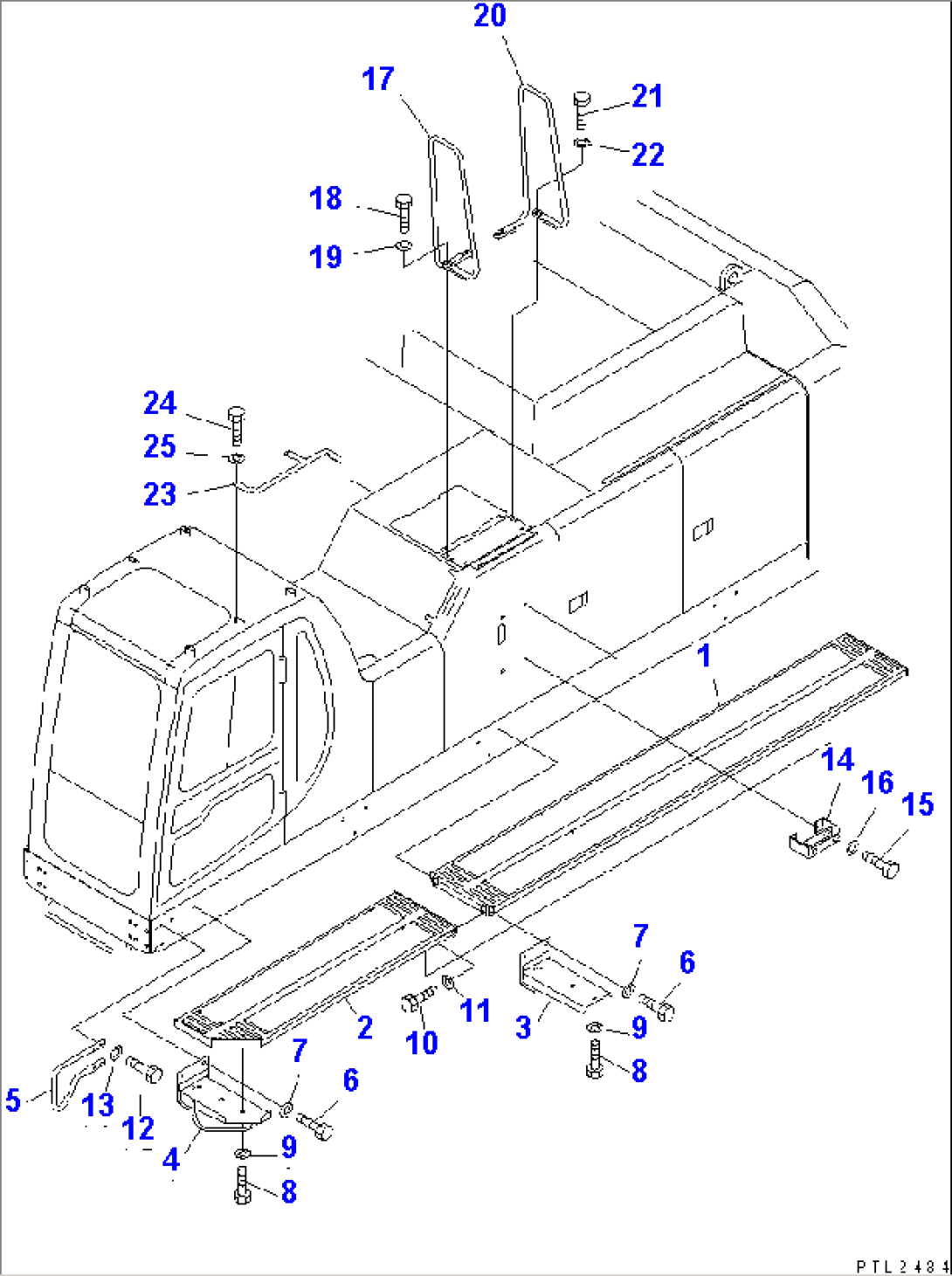
| Item | Part No. | Part Name | Qty | Serial No. |
| 1 | 209-54-75210 | STEP | 30175-30999 | |
| 2 | 209-54-75220 | STEP | 30175-30999 | |
| 3 | 209-54-75230 | BRACKET | 30175-30999 | |
| 4 | 209-54-75240 | BRACKET | 30175-30999 | |
| 5 | 209-54-75250 | GRIP | 30175-@ | |
| 6 | 01010-81240 | BOLT | 30109-30999 | |
| 7 | 01643-31232 | WASHER | 30001-30999 | |
| 8 | 01010-81240 | BOLT | 30175-30999 | |
| 9 | 175-54-34170 | WASHER | 30175-30999 | |
| 10 | 01010-81230 | BOLT | 30175-30999 | |
| 11 | 01643-31232 | WASHER | 30175-30999 | |
| 12 | 01010-81245 | BOLT | 30175-30999 | |
| 13 | 01643-31232 | WASHER | 30175-30999 | |
| 14 | 209-54-63481 | STEP | 30001-@ | |
| 15 | 01010-81230 | BOLT | 30001-@ | |
| 16 | 01643-31232 | WASHER | 30001-@ | |
| 17 | 209-54-74311 | HANDRAIL,L.H. | 30001-30999 | |
| 18 | 01010-81250 | BOLT | 30001-30999 | |
| 19 | 01643-31232 | WASHER | 30001-30999 | |
| 20 | 209-54-74321 | HANDRAIL,R.H. | 30001-30999 | |
| 21 | 01010-81250 | BOLT | 30001-30999 | |
| 22 | 01643-31232 | WASHER | 30001-30999 | |
| 23 | 209-54-73172 | GRIP | 30175-@ | |
| 24 | 01010-81240 | BOLT | 30175-@ | |
| 25 | 01643-31232 | WASHER | 30001-@ |
