Ваш браузер устарел. Этот сайт может работать неполноценно или выглядеть сломанным. Обновите ваш браузер, если можете.

Поиск по каталогу

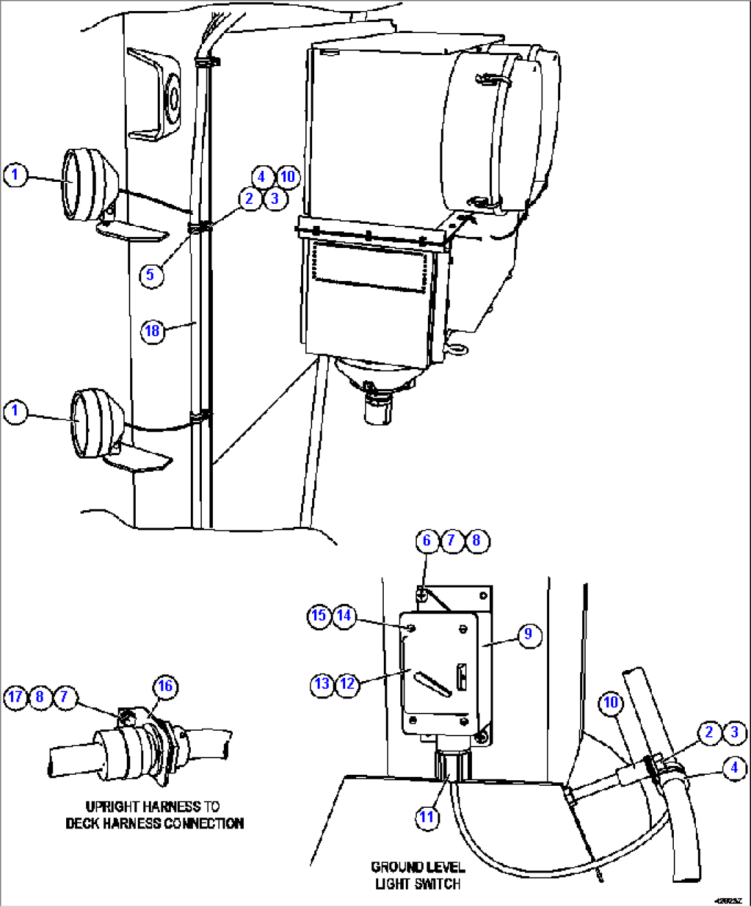
LH UPRIGHT SERVICE LIGHTS

LH UPRIGHT SERVICE LIGHTS
ItemPart No.Part NameQtySerial No.
1AK7504LIGHT, SERVICE (SEE FIG 42185)
2MM0178NUT - M10 X 1.50
3MM0471LOCKWASHER - M10
4MM0461FLAT WASHER - M10
5WB3092CLAMP, CUSHION - 7/8"
6MM0358SCREW - M6 X 1.00 X 16
7MM0469LOCKWASHER - M6
8MM0459FLAT WASHER - M6
9PB9075BOX, CONDULET
10EM1398SPACER
11VN6396GRIP, CORD
12VA2826COVER
13VA2828SWITCH
14VN7129SCREW - #6 - 32NC X 5/8"
15DF4944LOCKWASHER - #6
16EJ8368BRACKET
17MM0581CAPSCREW - M6 X 1.00 X 16
18XB0929HARNESS, LH UPRIGHT
Вернуться в каталог

Заявка

Обратная связь