| Item | Part No. | Part Name | Qty | Serial No. |
| 1 | VA1730 | SWITCH | ||
| 2 | TV5194 | FITTING, PIPE | ||
| 3 | VM5736 | GRIP, CORD | ||
| 4 | SC4970 | FITTING, PIPE | ||
| 5 | VA1733 | MOUNT |
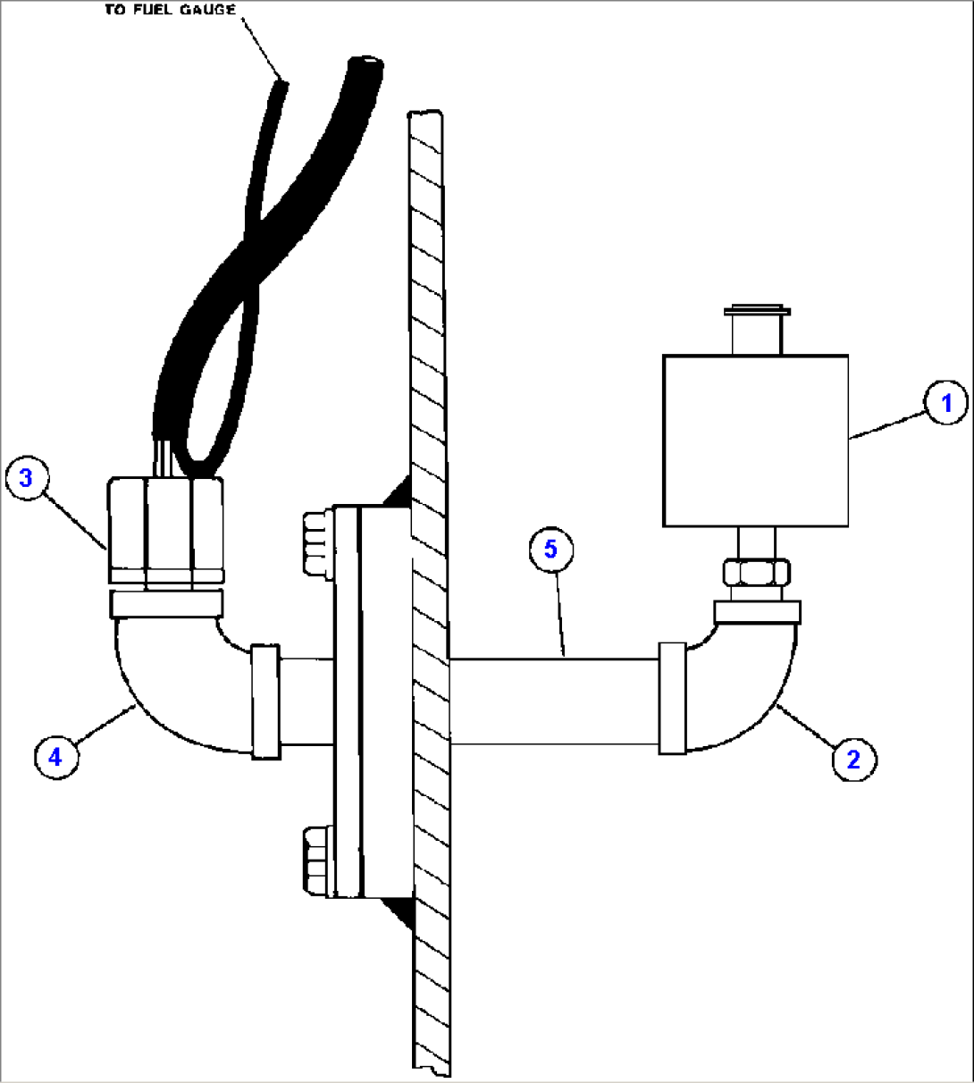
| Item | Part No. | Part Name | Qty | Serial No. |
| 1 | VA1730 | SWITCH | ||
| 2 | TV5194 | FITTING, PIPE | ||
| 3 | VM5736 | GRIP, CORD | ||
| 4 | SC4970 | FITTING, PIPE | ||
| 5 | VA1733 | MOUNT |