Ваш браузер устарел. Этот сайт может работать неполноценно или выглядеть сломанным. Обновите ваш браузер, если можете.
Наличие
Каталог запчастей
Контакты
+7 (423) 222-39-13
sharahov.komdir@vladremsnab.ru
Обратная связь
RU
EN
Наличие
Каталог запчастей
Контакты
+7 (423) 222-39-13
sharahov.komdir@vladremsnab.ru
RU
EN
Обратная связь
Главная
Каталог запчастей
Самосвалы
Afe47 as 730e s/n a30138 a30139/a30143 (orapa)
Fuel system
Low fuel warning
Поиск по каталогу
Найти!
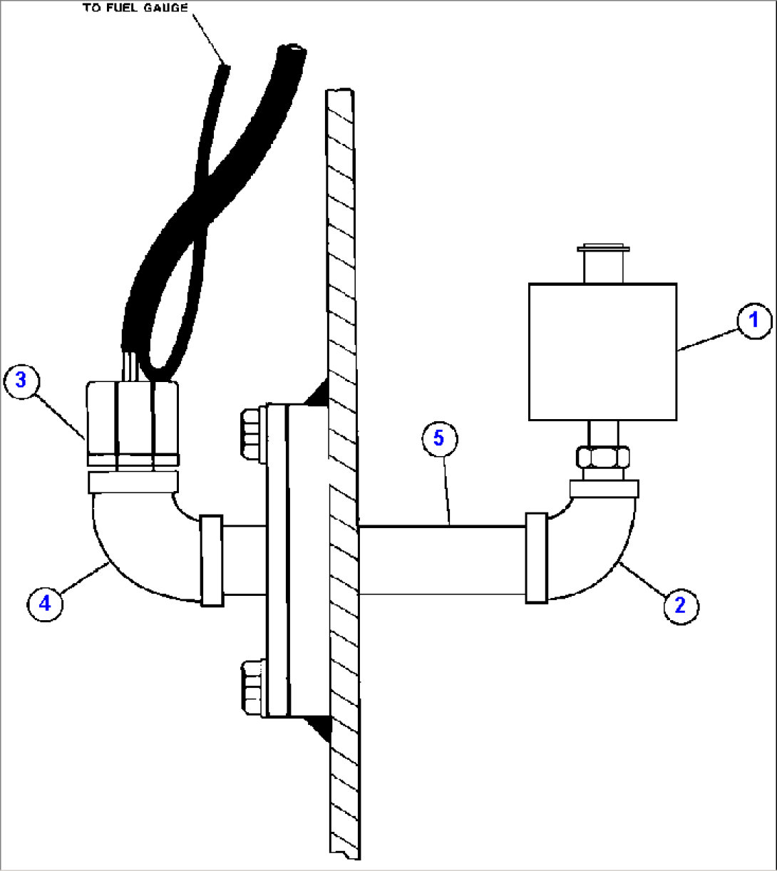
LOW FUEL WARNING
Item
Part No.
Part Name
Qty
Serial No.
1
VA1730
SWITCH
2
TV5194
FITTING, PIPE
3
VM5736
GRIP, CORD
4
SC4970
FITTING, PIPE
5
VA1733
MOUNT
Вернуться в каталог
Оформить заказ
auto
light
dark
Заявка
Имя
Телефон
Эл. почта
Товары в корзине:
Сообщение
Нажимая кнопку «Отправить», вы соглашаетесь с
пользовательским соглашением
и
политикой конфеденциальности
Отправить
Обратная связь
Имя
Телефон
Эл. почта
Сообщение
Нажимая кнопку «Отправить», вы соглашаетесь с
пользовательским соглашением
и
политикой конфеденциальности
Отправить