
| Item | Part No. | Part Name | Qty | Serial No. |
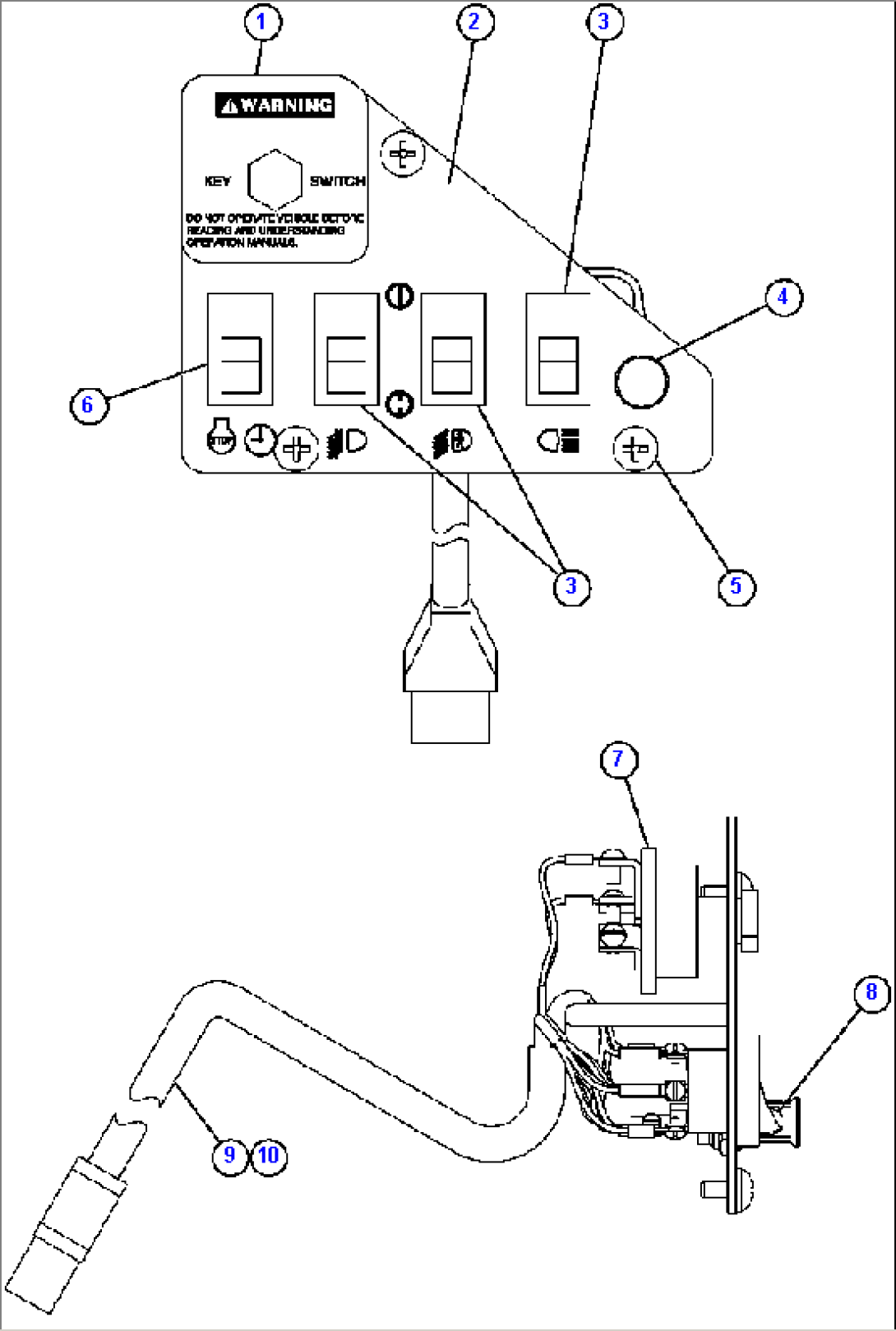
| 1 | SM4356 | PLATE, MOUNTING | ||
| 2 | SM2729 | OVERLAY, LEXAN | ||
| 3 | PB6972 | SWITCH, ROCKER (FOG, LADDER, BACKUP LIGHTS) | ||
| 4 | PB7019 | LIGHT, INDICATOR | ||
| 5 | SM0926 | SCREW, PAN - M6 X 1.00 | ||
| 6 | PB9752 | SWITCH, ROCKER (ENGINE SHUTDOWN) | ||
| 7 | VM7105 | SWITCH, KEY | ||
| 8 | VL6234 | BULB | ||
| 9 | EG8948 | HARNESS, LOWER R.H. DASH | ||
| 10 | VH5017 | TYRAP | ||
| 10 | (NOT SERVICED AS AN ASSEMBLY. | |||
| 10 | ORDER INDIVIDUAL COMPONENT PARTS.) |
