
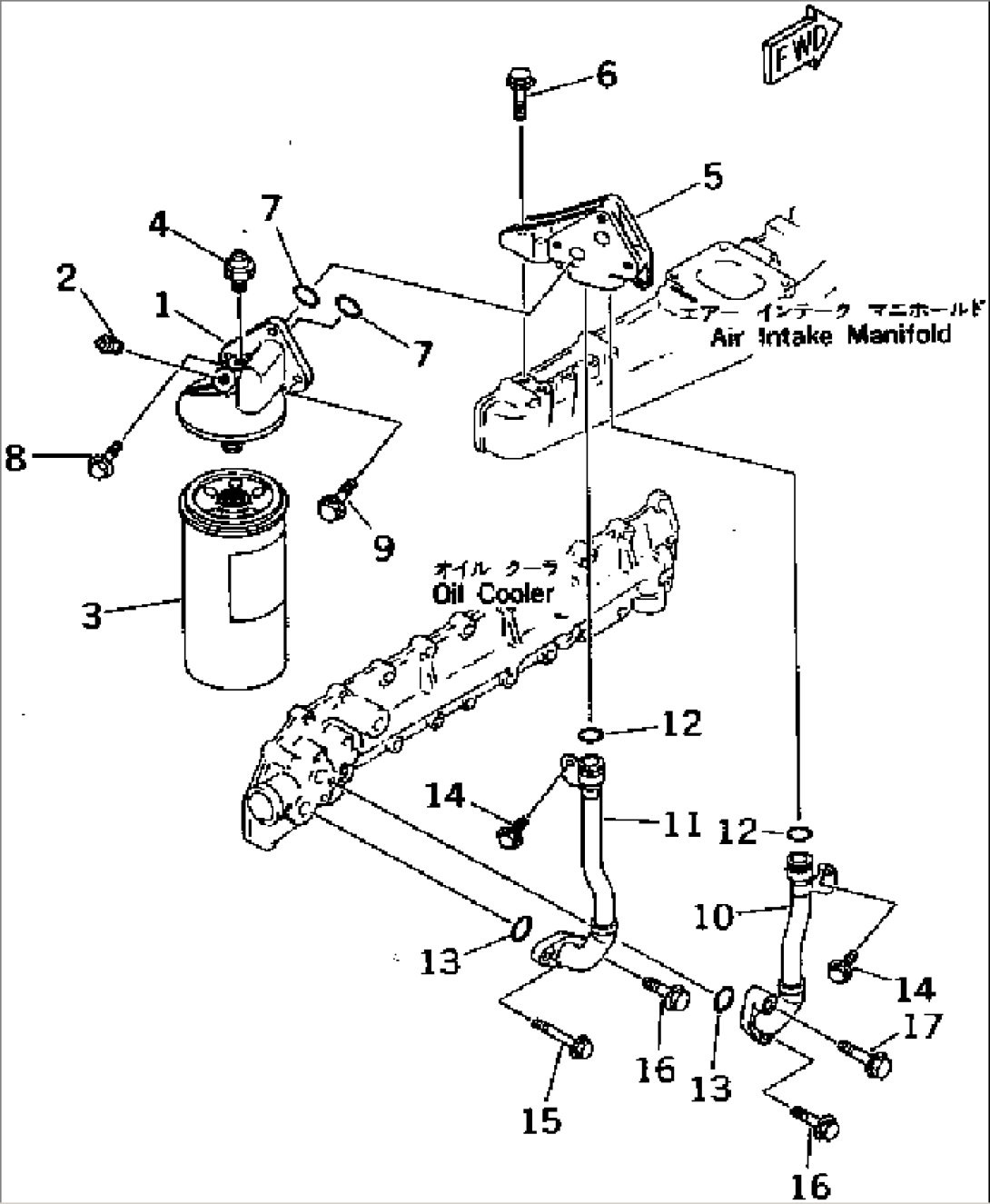
| Item | Part No. | Part Name | Qty | Serial No. |
| 6136-51-5101 | OIL FILTER ASS'Y | 92268- | ||
| 1 | 6136-51-5111 | BRACKET | 92268- | |
| 2 | 07043-00108 | PLUG | 92268- | |
| 3 | 6136-51-5120 | CARTRIDGE | 92268- | |
| 4 | 08073-00505 | SWITCH | 92268- | |
| 5 | 6134-51-6610 | ADAPTER | 92268- | |
| 6 | 01435-01030 | BOLT | 106576- | |
| 7 | 07000-63028 | O-RING (K2) | 92268- | |
| 8 | 01435-00830 | BOLT | 106576- | |
| 9 | 01435-01030 | BOLT | 106576- | |
| 10 | 6134-51-6621 | TUBE | 92268- | |
| 11 | 6134-51-6631 | TUBE | 92268- | |
| 12 | 07000-63022 | O-RING (K2) | 92268- | |
| 13 | 07000-63028 | O-RING (K2) | 92268- | |
| 14 | 01435-20814 | BOLT | 106576- | |
| 15 | 01435-00890 | BOLT | 106576- | |
| 16 | 01435-01030 | BOLT | 106576- | |
| 17 | 01435-01045 | BOLT | 106576- |
