
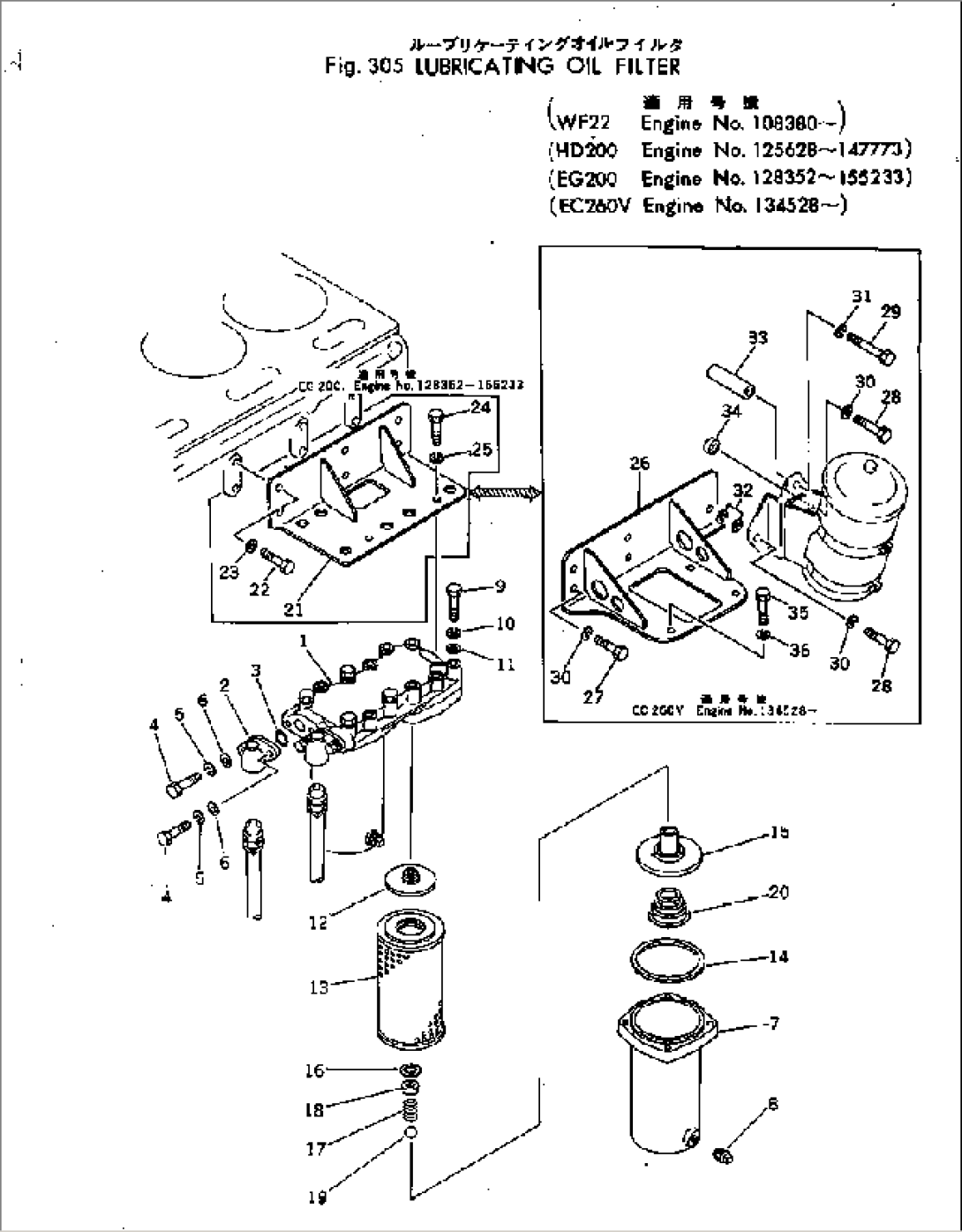
| Item | Part No. | Part Name | Qty | Serial No. |
| 6667-51-4100 | FILTER ASS'Y | 125628-147773 | ||
| 1 | 6667-51-4110 | HEAD | 125628-147773 | |
| 2 | 6667-51-4510 | CONNECTOR | 125628-147773 | |
| 3 | 07000-63035 | O-RING | 125628-147773 | |
| 4 | 01010-31055 | BOLT | 125628-147773 | |
| 5 | 01602-01030 | WASHER | 125628-147773 | |
| 6 | 01640-21016 | WASHER | 125628-147773 | |
| 7 | 6610-51-4200 | CASE | 125628-147773 | |
| 8 | 6610-51-4520 | PLUG | 125628-147773 | |
| 9 | 02010-20770 | BOLT | 125628-147773 | |
| 10 | 02310-01428 | WASHER | 125628-147773 | |
| 11 | 02300-01520 | WASHER | 125628-147773 | |
| 12 | 6610-51-4130 | RETAINER | 125628-147773 | |
| 6610-50-5100 | ELEMENT ASS'Y | 125628-147773 | ||
| 13 | \6\ | ELEMENT | 125628-147773 | |
| 14 | 6610-51-4810 | GASKET | 125628-147773 | |
| 15 | 6610-51-4312 | RETAINER | .-147773 | |
| 15 | \0\6610-51-4310 | RETAINER | 108380-. | |
| 16 | 6610-51-4331 | RING | 125628-147773 | |
| 17 | 6610-51-4351 | SPRING | 125628-147773 | |
| 18 | 6610-51-4360 | RETAINER | 125628-147773 | |
| 19 | 6610-51-4340 | BALL | 125628-147773 | |
| 20 | 6610-51-4510 | SPRING | 125628-147773 |
