
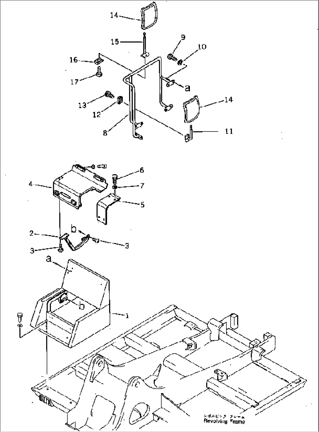
| Item | Part No. | Part Name | Qty | Serial No. |
| 1 | 205-54-77220 | COVER | 20001-26573 | |
| 2 | 208-54-13160 | STAY | 20001-@ | |
| 3 | 01225-40510 | SCREW | 20001-@ | |
| 4 | 205-54-77241 | COVER | 20001-26573 | |
| 5 | 205-54-77231 | COVER | 20001-26573 | |
| 6 | 01010-51220 | BOLT | 20001-@ | |
| 7 | 01643-31232 | WASHER | 20001-@ | |
| 8 | 205-54-77110 | HAND RAIL | 20001-@ | |
| 9 | 01010-51225 | BOLT | 20001-@ | |
| 10 | 01643-31232 | WASHER | 20001-@ | |
| 11 | 205-54-68480 | SUPPORT | 20001-@ | |
| 12 | 207-54-17840 | CLAMP | 20001-@ | |
| 13 | 01252-41025 | BOLT | 20001-@ | |
| 14 | 08174-33023 | MIRROR | 20001-@ | |
| 15 | 205-54-67141 | SUPPORT | 20001-@ | |
| 16 | 207-54-17840 | CLAMP | 20001-@ | |
| 17 | 01252-41025 | BOLT | 20001-@ |
