
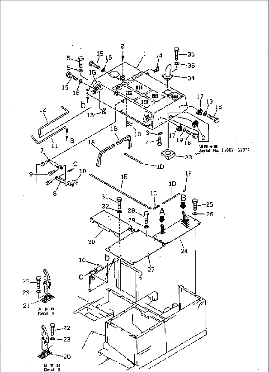
Item | Part No. | Part Name | Qty | Serial No. |
1 | 207-54-31363 | HOOD | 14095- | |
1 | 207-54-31362 | HOOD | 12001-14094 | |
1A | 207-54-31431 | SHEET | 14095- | |
1A | 207-54-31430 | SHEET | 12001-14094 | |
1B | 207-54-31421 | SHEET | 14095- | |
1B | 207-54-31420 | SHEET | 12001-14094 | |
1C | 207-54-31490 | SHEET | 12001- | |
1D | 207-54-31460 | SHEET | 12001- | |
1E | 207-54-31450 | SHEET | 12001- | |
1F | 207-54-31520 | SHEET | 12001- | |
1G | 205-54-75362 | HINGE (WELDED) | 12001- | |
2 | 209-54-12280 | HANDLE | 12001-12703 | |
3 | 205-54-68440 | PLATE | 12001- | |
4 | 01224-40616 | SCREW | 12001- | |
5 | 01010-51230 | BOLT | 12001- | |
6 | 175-54-34170 | WASHER | 12001- | |
7 | 207-54-31540 | STAY | 12001- | |
8 | 207-54-31530 | STAY | 12001- | |
9 | 04205-11228 | PIN | 12001- | |
10 | 04052-01253 | PIN,SNAP | 12001- | |
11 | 207-54-31370 | SPRING | 12001- | |
12 | 207-54-31380 | SPRING | 12001- | |
13 | 207-54-31390 | BRACKET | 12001- | |
14 | 207-54-31410 | BRACKET | 12001- | |
15 | 01010-51250 | BOLT | 12001- | |
16 | 01643-31232 | WASHER | 12001- | |
17 | 205-54-67660 | SUPPORT | 12001- | |
18 | 01010-50825 | BOLT | 12001- | |
19 | 01643-30823 | WASHER | 12001- | |
20 | 205-54-76530 | CATCHER | 12001- | |
21 | 205-54-76260 | CATCHER | 12001- | |
22 | 01010-50825 | BOLT | 12001- | |
23 | 01643-30823 | WASHER | 12001- | |
24 | 207-54-31211 | COVER | 12001- | |
25 | 01010-51230 | BOLT | 12001- | |
26 | 01643-31232 | WASHER | 12001- | |
27 | 207-54-31250 | COVER | 12001- | |
28 | 01010-51230 | BOLT | 12001- | |
29 | 01643-31232 | WASHER | 12001- | |
30 | 207-54-31271 | COVER | 12001- | |
31 | 01010-51230 | BOLT | 12001- | |
32 | 209-54-14650 | WASHER | 12001- | |
33 | 207-54-31441 | SHEET | 12001- | |
34 | 207-01-32111 | PIPE,TAIL | 12704- | |
34 | \0\207-01-32110 | PIPE,TAIL | 12001-12703 | |
35 | 01010-51230 | BOLT | 12001- | |
36 | 124-54-26540 | WASHER | 12001- |