
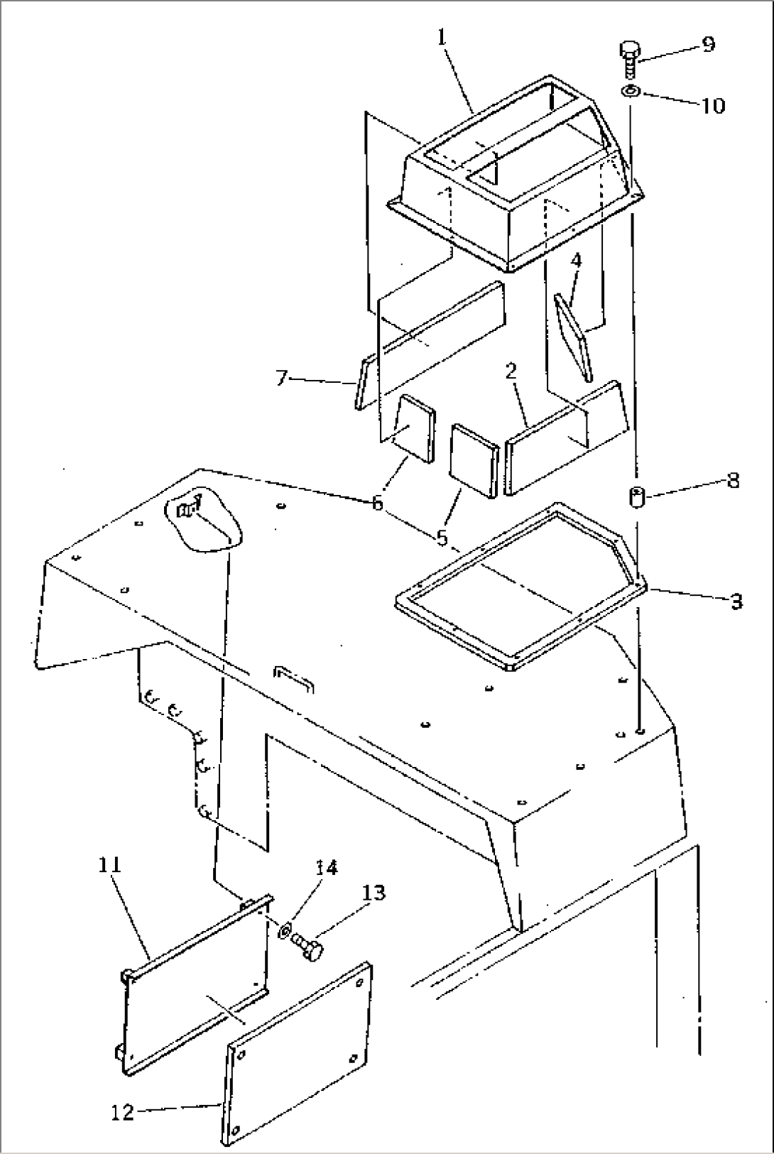
| Item | Part No. | Part Name | Qty | Serial No. |
| 1 | 20D-54-42870 | COVER | 2301- | |
| 2 | 20D-54-42450 | SHEET | 2301- | |
| 3 | 20D-54-42960 | SHEET | 2301- | |
| 4 | 20D-54-42610 | SHEET | 2301- | |
| 5 | 20D-54-42590 | SHEET | 2301- | |
| 6 | 20D-54-42580 | SHEET | 2301- | |
| 7 | 20D-54-42570 | SHEET | 2301- | |
| 8 | 205-970-2410 | PIPE | 2301- | |
| 9 | 01010-51050 | BOLT | 2301- | |
| 10 | 01643-31032 | WASHER | 2301- | |
| 11 | 20D-54-42930 | COVER | 2301- | |
| 12 | 20D-54-42940 | SHEET | 2301- | |
| 13 | 01010-51020 | BOLT | 2301- | |
| 14 | 01643-31032 | WASHER | 2301- |
